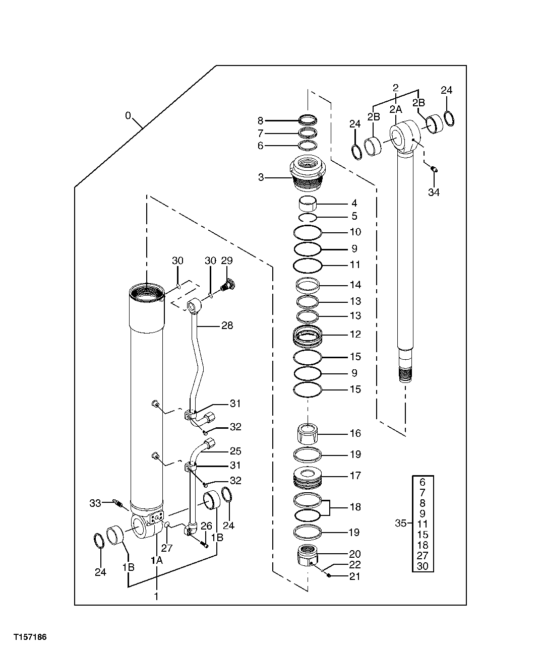
Запчасти John Deere 60C LC 243 - BOOM CYLINDER COMPONENTS 3365 HYDRAULIC CYLINDERS

Схема запчастей John Deere 60C LC - 243 - BOOM CYLINDER COMPONENTS 3365 HYDRAULIC CYLINDERS
FIT
1:1
100%

Артикул

Название

Примечание

Количество

0

9197149J

Hydraulic Cylinder

(SUB FOR 9197149)

1шт.

1

0826801

Hydraulic Cylinder Barrel

1шт.

1A

0826802

Tube

1шт.

1B

4334426

Bushing

(SUB FOR 0824204)

2шт.

2

0826803J

Hydraulic Cylinder Rod

(SUB FOR 0826803)

1шт.

2A

Rod

( 0826804 NLA)

1шт.

2B

4334426

Bushing

(SUB FOR 0824204)

2шт.

3

0826805J

Hydraulic Cylinder Cap

(SUB FOR 0826805)

1шт.

4

AT264389

Wear Ring

(SUB FOR 0310604)

1шт.

5

4510494

Snap Ring

1шт.

6

0790006

Ring

(K)

1шт.

7

0225611

Seal

(K)

1шт.

8

0409117

Seal

(K)

1шт.

9

AT264320

O-Ring

(K) (SUB FOR A811110)

2шт.

10

0826806

Back-Up Ring

1шт.

11

A810115

Packing

(K)

1шт.

12

0826807

Holder

1шт.

13

0826808

Seal

2шт.

14

0826809

Bushing

1шт.

15

0310904

Back-Up Ring

(K)

2шт.

16

0826810

Bearing

1шт.

17

0826811

Piston

1шт.

18

0225614

Ring

(K)

1шт.

19

0686405

Scraper Ring

2шт.

20

0789307

Nut

1шт.

21

0309011

Set Screw

1шт.

22

0111707

Ball

1шт.

24

4117954

Seal

(SUB FOR 0824205)

4шт.

25

0826812

Line

1шт.

26

M340825

Screw

4шт.

27

O-Ring

(K) (SUB FOR 4509181, TH103574 ) (SUB 0976602)( AT264354 NSEP)

1шт.

28

0826813

Line

1шт.

29

4480022

Plug

(SUB FOR 0826814)

1шт.

30

CH17886

Packing

(K) (SUB FOR 4509182)

2шт.

31

4694711

Holder

(SUB FOR 0826815)

2шт.

32

0826816

Bolt

2шт.

33

0271312

Fitting

1шт.

34

J75481

Fitting

1шт.

35

4464984

Seal Kit

(INCLUDES ALL (K) PARTS)

1шт.

Выбрано товаров: 39