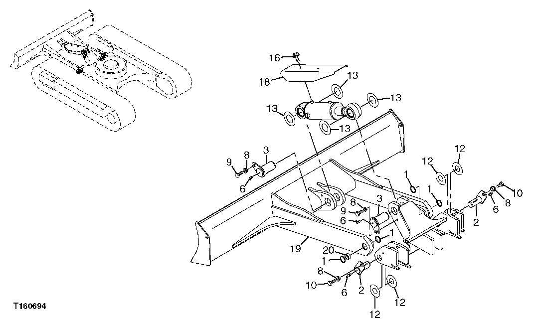
Запчасти John Deere 60C LC 251 - BLADE CYLINDER COMPONENTS 3401 BLADE

Схема запчастей John Deere 60C LC - 251 - BLADE CYLINDER COMPONENTS 3401 BLADE
FIT
1:1
100%

Артикул

Название

Примечание

Количество

1

4246939

Seal

4шт.

2

9752136

Pin Fastener

2шт.

3

9752182

Pin Fastener

2шт.

6

T116334

Lubrication Fitting

4шт.

8

4350527

Bushing

4шт.

9

19M7488

Cap Screw

M16 X 40

2шт.

10

19M8035

Cap Screw

M16 X 35

2шт.

12

4407996

Plate

4шт.

13

4366692R

Thrust Washer

(SUB FOR 4366692)

4шт.

16

19M7872

Cap Screw

M12 X 25

2шт.

12M7067

Lock Washer

12 mm

2шт.

24M7180

Washer

13 X 37 X 3 mm

2шт.

18

3091742

Cover

1шт.

19

8083554

Blade

1шт.

20

4353818

Bushing

2шт.

Выбрано товаров: 15