Запчасти John Deere 60C LC 10 - PROPEL PILOT VALVE 0262 VALVES

Схема запчастей John Deere 60C LC - 10 - PROPEL PILOT VALVE 0262 VALVES
FIT
1:1
100%

Артикул

Название

Примечание

Количество

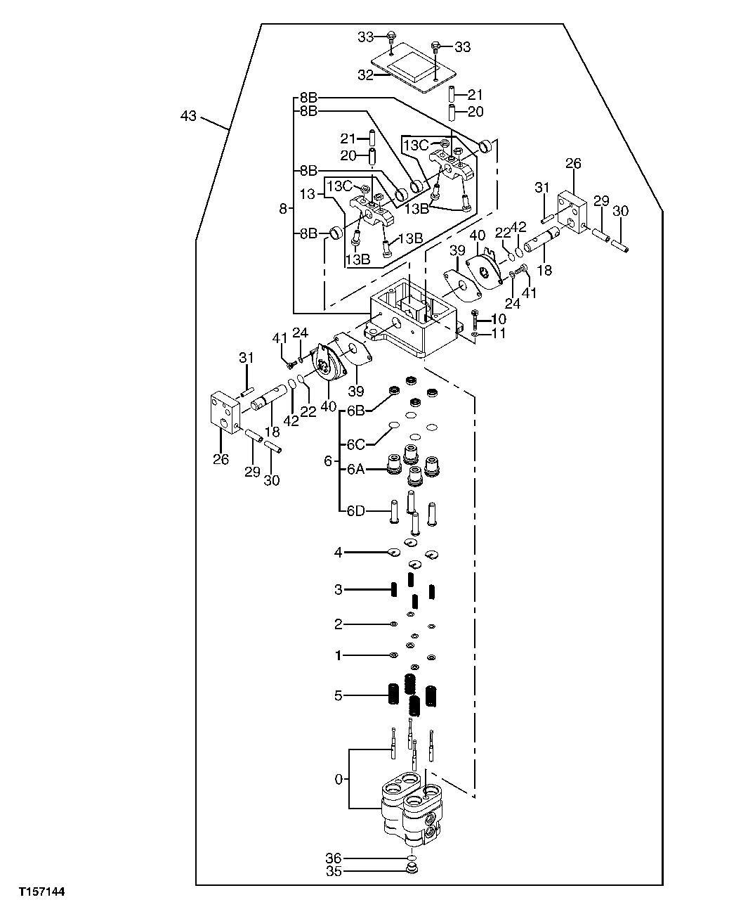
0

Housing

( 8063718 NLA)

1шт.

1

4319299

Spacer

4шт.

2

4662206

Shim

(SUB FOR 4203411)

12шт.

3

4368629

Compression Spring

4шт.

4

4364970

Guide

4шт.

5

4368630

Compression Spring

4шт.

6

9151724

Plunger

(41MM OD)

4шт.

6A

3065877

Bushing

1шт.

6B

4447050

Seal

1шт.

6C

984338

Packing

1шт.

6D

3072517

Plunger

1шт.

8

Holder

( 9184275 NLA)

1шт.

8B

4437433

Bushing

4шт.

10

19M7576

Screw

M10 X 30 (SUB FOR J781030)

2шт.

11

12M7066

Lock Washer

10 mm

2шт.

13

9199146

Cam Kit

2шт.

13B

4425290

Screw

2шт.

13C

14M7254

Nut

M8 (SUB FOR 4122395)

2шт.

18

4425305

Pin Fastener

2шт.

20

4027427

Spring Pin

2шт.

21

4213419

Spring Pin

2шт.

22

4185600

O-Ring

2шт.

24

12M7006

Lock Washer

6 mm (SUB FOR A590906)

4шт.

26

3087987

Bracket

2шт.

29

4205318

Spring Pin

2шт.

30

4205317

Spring Pin

2шт.

31

4051262

Spring Pin

2шт.

32

8077903

Cover

1шт.

33

J020614

Bolt

2шт.

35

4208977

Drain Plug

1шт.

36

CH11561

Packing

(SUB FOR 964255)

1шт.

39

4437432

Gasket

2шт.

40

4428902

Torsional Damper

2шт.

41

J780612

Bolt

4шт.

42

4447067

O-Ring

2шт.

43

9195307

Hydr./Pilot Control Valve

1шт.

Выбрано товаров: 0