Запчасти John Deere 60C LC 26 - ENGINE OIL PAN 0407 ENGINE OILING SYSTEM

Схема запчастей John Deere 60C LC - 26 - ENGINE OIL PAN 0407 ENGINE OILING SYSTEM
FIT
1:1
100%

Артикул

Название

Примечание

Количество

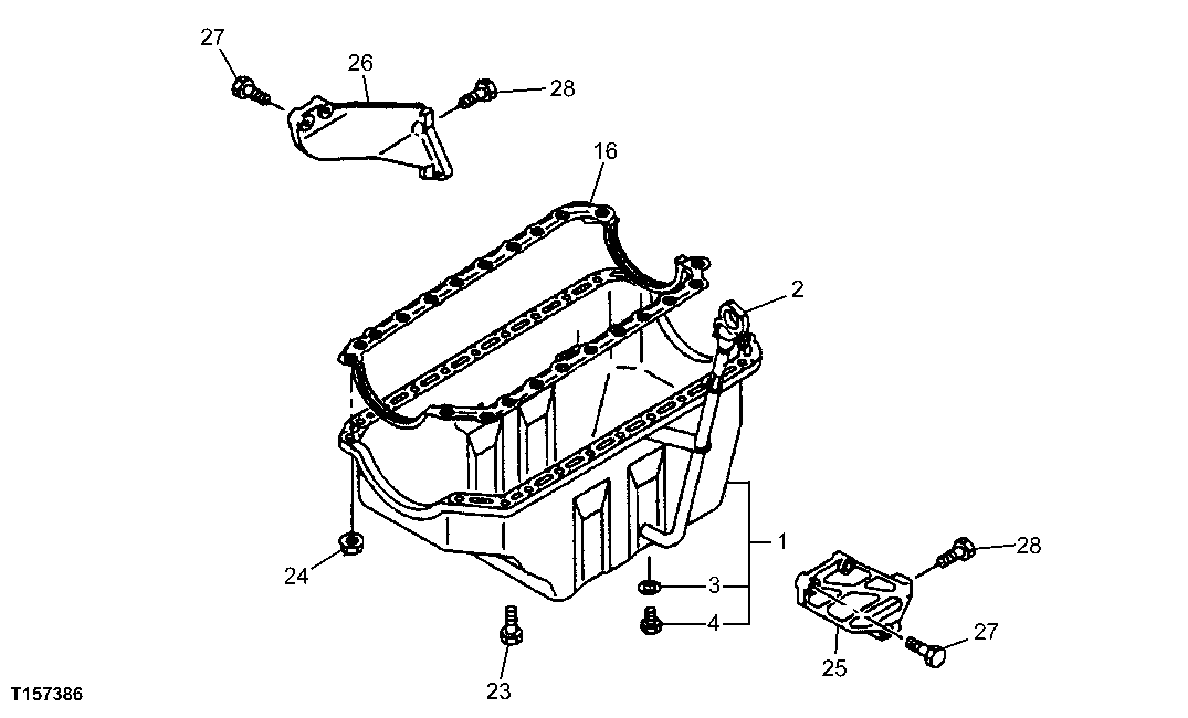
1

8972539870

Oil Pan

1шт.

2

8973251740

Dipstick

1шт.

3

8943993980

Gasket

(SUB FOR AT254814 OR 1096231830)AL SO INCLUDED IN GASKET SET (ENGINE)

1шт.

4

9096620120

Pipe Plug

(SUB FOR AT255027)M20

1шт.

16

8970801940

Gasket

ALSO INCLUDED IN GASKET SET (ENGINE)

1шт.

23

8941339732

Bolt

10шт.

24

14M7298

Flange Nut

M8 SUB FOR AT259945 OR 4447338

12шт.

25

8972300700

Reinforcement

1шт.

26

8972300690

Reinforcement

1шт.

27

0286510400

Bolt

(SUB FOR 0286810400)M10X40 FLANGE

4шт.

28

0286512300

Bolt

SUB FOR 0286812300 M12X30 FLANGE

2шт.

Выбрано товаров: 11