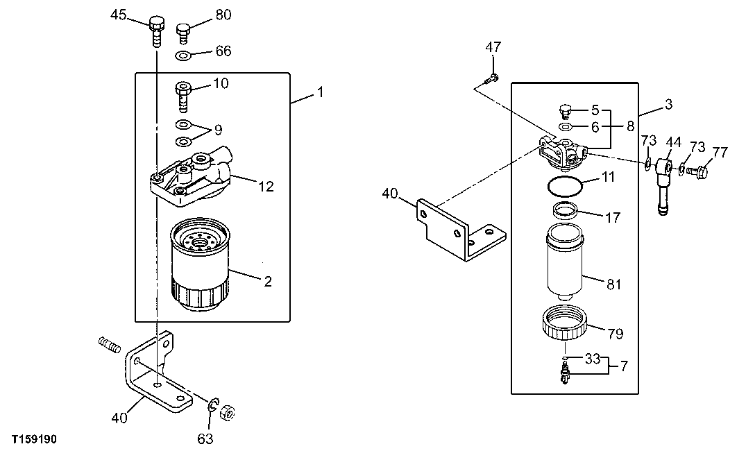
Запчасти John Deere 60C LC 42 - WATER SEPARATOR AND FINAL FUEL FILTER 0420 FUEL FILTER

Схема запчастей John Deere 60C LC - 42 - WATER SEPARATOR AND FINAL FUEL FILTER 0420 FUEL FILTER
FIT
1:1
100%

Артикул

Название

Примечание

Количество

1

8971798541

Filter

1шт.

2

4616542

Fuel Filter

SUB FOR 8944147963, 4265 247, 4285643 AND 4S00203

1шт.

3

1132008410

Sediment Bowl

SUB FOR 4452161

1шт.

5

5132190200

Bolt

1шт.

6

5096300240

Gasket

1шт.

7

8944537460

Pipe Plug

1шт.

8

1132121401

Cover

1шт.

9

AT263852

Washer

4шт.

10

1132600360

Flow Control Hyd. Valve

1шт.

11

5096230700

O-Ring

1шт.

12

8971798550

Cover

SUB FOR 5132120751

1шт.

17

5132190210

Float

1шт.

33

8941678860

O-Ring

1шт.

40

8944104040

Bracket

2шт.

44

4452162

Line

2шт.

45

0286510350

Bolt

SUB FOR 0286810350

2шт.

47

8973780750

Bolt

SUB FOR 0280808120, 89 43126990 OR 8943126991

2шт.

63

1099853450

Washer

2шт.

66

9095714080

Gasket

1шт.

73

AT255026

O-Ring

4шт.

77

5157590270

Bolt

2шт.

79

5132190221

Ring

1шт.

80

9092023080

Pipe Plug

1шт.

81

1132112110

Case

1шт.

Выбрано товаров: 24