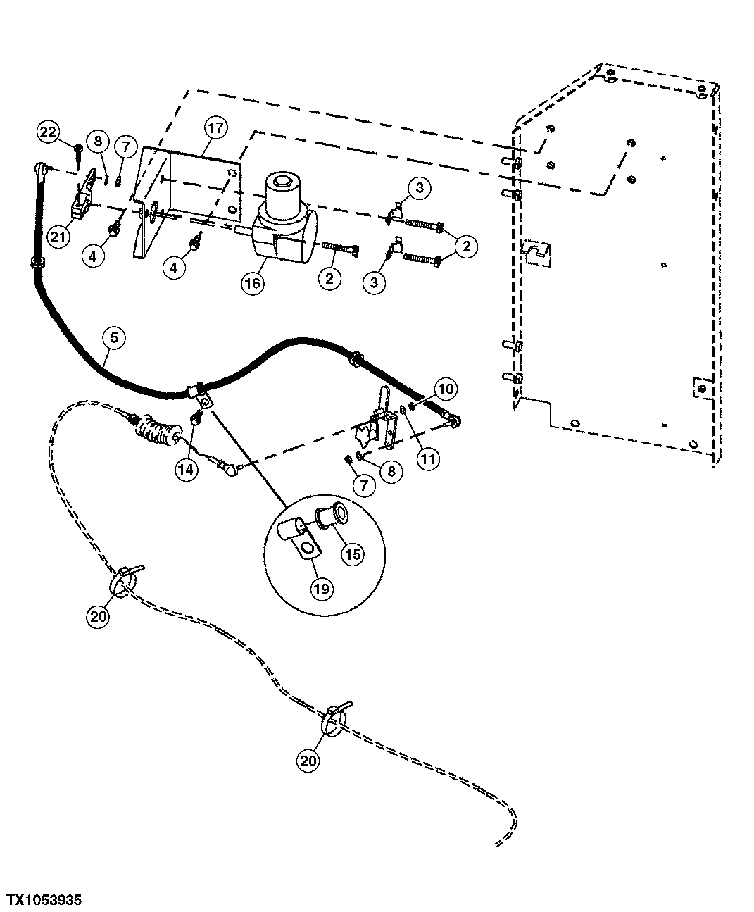
Запчасти John Deere 60C LC 52 - ENGINE SPEED CONTROL MOTOR AND CABLE 0515 ENGINE SPEED CONTROLS

Схема запчастей John Deere 60C LC - 52 - ENGINE SPEED CONTROL MOTOR AND CABLE 0515 ENGINE SPEED CONTROLS
FIT
1:1
100%

Артикул

Название

Примечание

Количество

2

19M8954

Screw

M10 X 60

3шт.

3

4257159

Bracket

2шт.

4

19M7402

Cap Screw

M10 X 25

4шт.

12M7066

Lock Washer

10 mm

4шт.

24M7028

Washer

10.500 X 20 X 2 mm

4шт.

5

4447957

Push Pull Cable

1шт.

7

14M7272

Nut

M6

2шт.

8

12M7006

Lock Washer

6 mm

2шт.

10

14M7272

Nut

M6

1шт.

11

12M7006

Lock Washer

6 mm

1шт.

14

19M7938

Cap Screw

M10 X 20

1шт.

12M7066

Lock Washer

10 mm

1шт.

15

4288070

Bushing

1шт.

16

4614911

Motor

SUB FOR 4360509

1шт.

17

8085595

Bracket

1шт.

19

R73384

Clamp

SUB FOR 4190253

1шт.

20

H77698

Tie Band

2шт.

21

FYA40004949

Lever

SUB FOR 9756079

1шт.

22

19M7660

Screw

M8 X 20 SUB FOR J781025, USE WITH 9756079

1шт.

19M8440

Screw

M10 X 25 SUB FOR J78102 5, USE WITH FYA40004949

1шт.

Выбрано товаров: 20