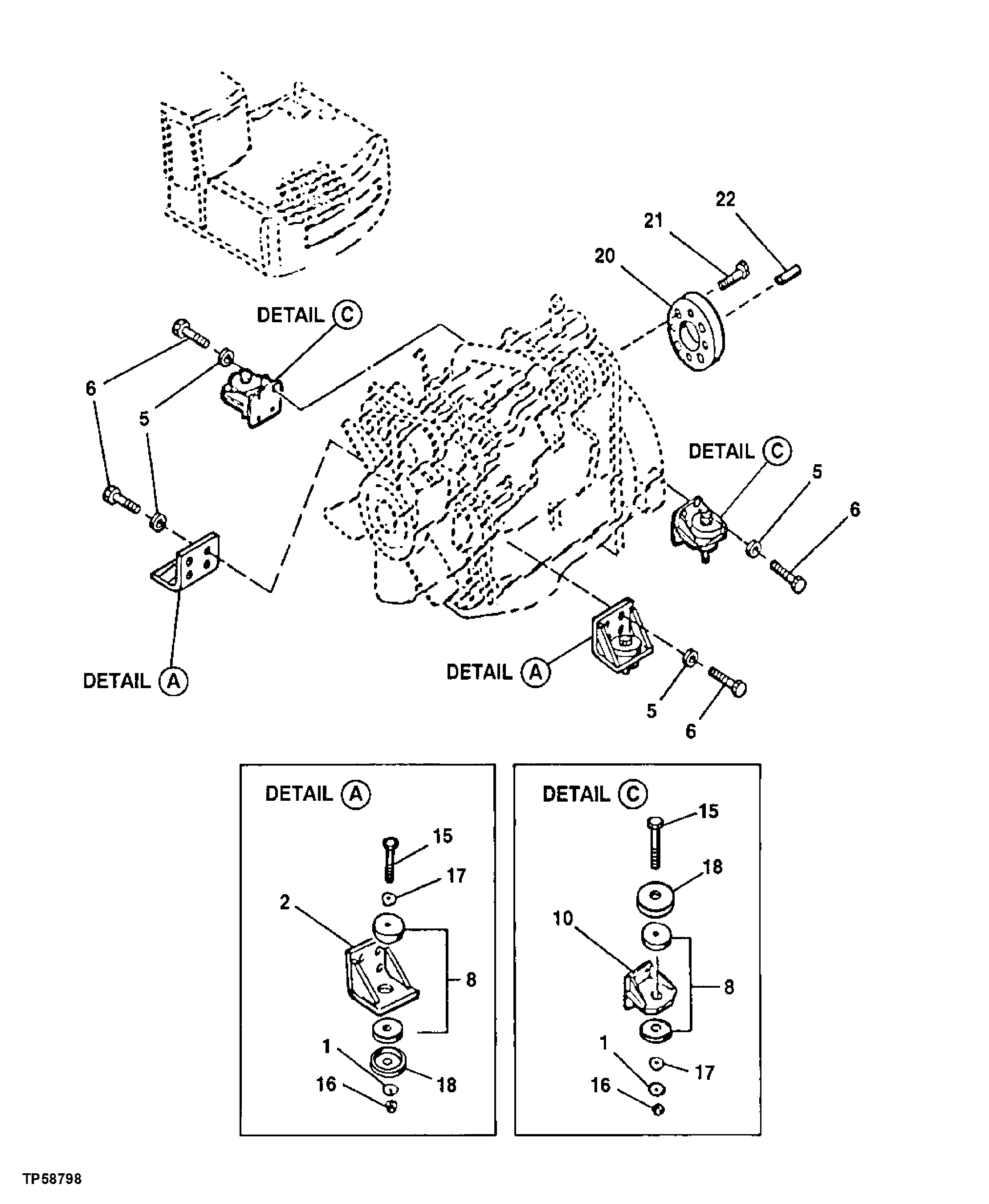
Запчасти John Deere 60LC 74 - Engine Mounts ( - 040144) 0400B ENGINE 4045TT055 4045TT055

Схема запчастей John Deere 60LC - 74 - Engine Mounts ( - 040144) 0400B ENGINE 4045TT055 4045TT055
FIT
1:1
100%

Артикул

Название

Примечание

Количество

1

24M7241

Washer

17 X 34 X 4 mm

4шт.

2

AP35226

Support

2шт.

5

T29342

Washer

13.487 X 31.750 X 4.572 mm (17/32" X 1-1/4" X 0.180")

ARшт.

6

19M7790

Screw

M12 X 35

ARшт.

8

AP35246

Isolator

(SUB FOR AP35225)

4шт.

10

AP35227

Support

2шт.

15

19M8610

Screw

M16 X 110

4шт.

16

14M7328

Lock Nut

M16

4шт.

17

R111207

Washer

16.700 X 71.500 X 5 mm ( 0.657" X 2.815" X 0.197")

4шт.

18

P61093

Retainer

4шт.

20

P64258

Spacer

1шт.

21

T108085

Cap Screw

4шт.

22

34M7117

Spring Pin

5 X 10 mm

2шт.

23

4374306

Sensor

(SUB FOR AT215102) Temperature

1шт.

Выбрано товаров: 14