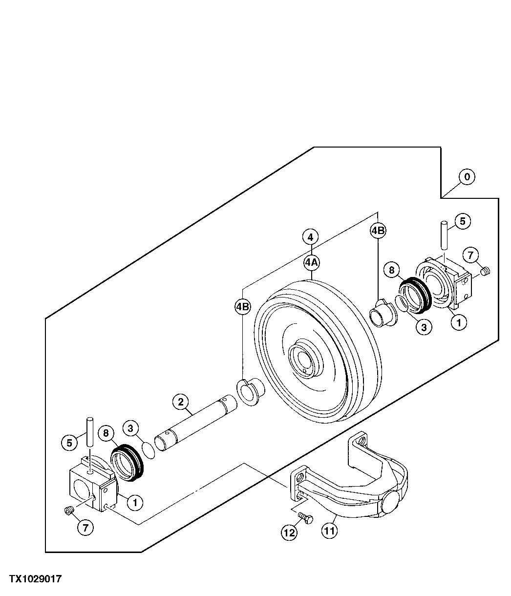
Запчасти John Deere 60LC 4 - Front Idler ( - 041910) 0130 Track Systems

Схема запчастей John Deere 60LC - 4 - Front Idler ( - 041910) 0130 Track Systems
FIT
1:1
100%

Артикул

Название

Примечание

Количество

0

AT180014

Track Idler

(QUANTITY OF ONE EACH SIDE OF UNIT)

2шт.

1

AT180016

Support

2шт.

2

AT180022

Shaft

1шт.

3

O-Ring

NLA

2шт.

4

AT180020

Roller Shell

1шт.

4A

Idler

1шт.

4B

AT180021

Bushing

75 X 79 X 48.500 mm (2-6 1/64" X 3.110" X 1.909")

2шт.

5

AT180015

Pin Fastener

20.500 X 107 mm (0.807" X 4.213")

2шт.

7

AT180007

Fitting Plug

2шт.

8

Seal

NLA

2шт.

11

AT180023

Yoke

(QUANTITY OF 1 EACH SIDE OF UNIT)

2шт.

12

19M8035

Cap Screw

M16 X 35 (QUANTITY OF 4 EACH SIDE OF UNIT)

8шт.

Выбрано товаров: 12