Запчасти John Deere 60LC 147 - PRESSURE SWITCH KIT FOR ATTACHMENT MODE 1674 Wiring Harness And Switches

Схема запчастей John Deere 60LC - 147 - PRESSURE SWITCH KIT FOR ATTACHMENT MODE 1674 Wiring Harness And Switches
FIT
1:1
100%

Артикул

Название

Примечание

Количество

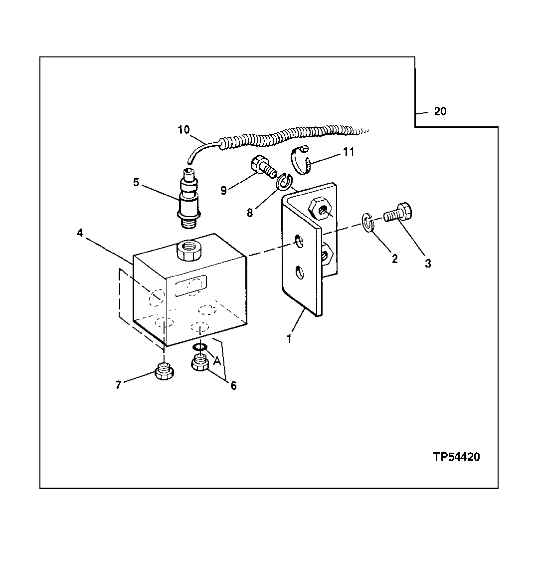
1

9746294

Bracket

SUB FOR AT179453

1шт.

2

Washer

12M7065 NLA

2шт.

3

19M7932

Cap Screw

M8 X 16

2шт.

4

4330230

Flow Control Hyd. Valve

SUB FOR AT179454

1шт.

5

4333040

Switch

SUB FOR AP33668; SUB FOR AT213846

1шт.

6

4093624

Drain Plug

SUB FOR AT318013, TH102536

1шт.

6A

M800650

Packing

1шт.

7

15M7036

Drain Plug

SUB FOR TH109285 OR 0309805

4шт.

CH11570

O-Ring

13.800 X 2.400 mm (0.543" X 3/32")

4шт.

8

12M7066

Lock Washer

10 mm

2шт.

9

19M7662

Cap Screw

M10 X 30

2шт.

10

4381224

Wiring Harness

SUB FOR AT179455

1шт.

11

H77698

Tie Band

Use Where Needed

3шт.

20

AT179452

Kit

USE UNTIL EXHAUSTED

1шт.

Выбрано товаров: 14