Качественные детали и логистика
Оригинальные и аналоговые запчасти с доставкой по России, Казахстану и Беларуси
©2022 PartSell ООО "Система" ИНН 2463123282 ОГРН 1212400004838
Центральный офис: г. Красноярск, Академика Киренского, д.87, пом.4
Телефон: 8 (800) 777-65-74 Email: zakaz@partsell.ru
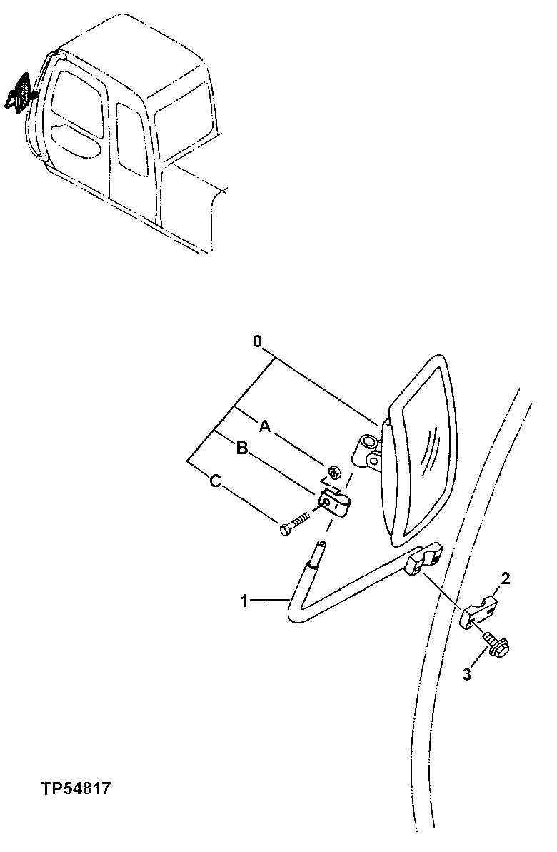
217 - Left Rear View Mirror
№
Артикул
Название
Примечание
Количество
0
4317906
Rear View Mirror
SUB FOR TH104119
1шт.
4420724
SUB FOR AT185207
0A
14M7400
Lock Nut
M10
0B
Clamp
Not Available For Service
0C
03M7193
Bolt
M10 X 35
1
Arm
AT218191 NLA - ORDER 4420724 AND 8076228
8076228
2
AT219494
4201441
SUB FOR AT131743
3
19M8359
Cap Screw
M8 X 45
2шт.
Washer
12M7065 NLA
Выбрано товаров: 0