Запчасти John Deere 60LC 236 - Heavy Duty Bucket 3302 Bucket With Teeth

Схема запчастей John Deere 60LC - 236 - Heavy Duty Bucket 3302 Bucket With Teeth
FIT
1:1
100%

Артикул

Название

Примечание

Количество

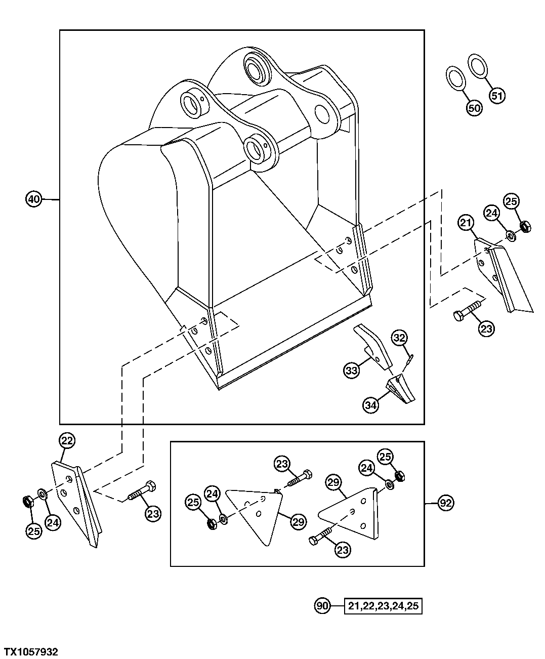
21

CE17748R3

End Bit

1шт.

22

CE17748L3

End Bit

1шт.

23

09H1772

Bolt

7/8" X 3-1/2"

12шт.

24

12H245

Lock Washer

7/8"

12шт.

25

14H1077

Nut

7/8"

12шт.

29

TPDE31329

Shroud

Wear

2шт.

32

TK290

Pin

ARшт.

33

T158X290

Bucket Tooth Adapter

ARшт.

34

TF290

Tooth

ARшт.

40

AT339088

Excavator Bucket

24in. - 0.48 yd³, 4 Teeth WHOLE G OODS, SUB FOR AT163589 OR AT332679

1шт.

AT339090

Excavator Bucket

30in. - .65 yd³, 4 Teeth WH OLE GOODS, SUB FOR AT332680

1шт.

AT339092

Excavator Bucket

36in. - .81 yd³, 5 Teeth WH OLE GOODS, SUB FOR AT332681

1шт.

AT339094

Excavator Bucket

42in. - .99 yd³, 5 Teeth WH OLE GOODS, SUB FOR AT332682

1шт.

50

T241930

Washer

85 X 140 X 1 mm (3.346" X 5.512" X 0.039")

ARшт.

51

T241937

Shim

0.5 mm

ARшт.

90

AT342512

Kit

Side Cutter Kit

1шт.

92

AT342511

Kit

Edge Protector Kit

1шт.

Выбрано товаров: 17