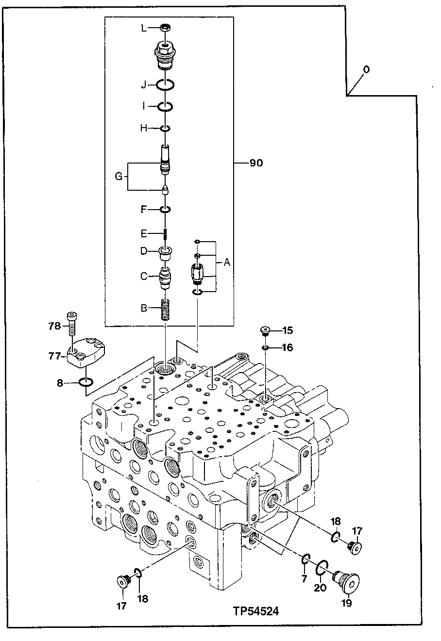
Запчасти John Deere 60LC 272 - Control Valve 3360 Hydraulic System

Схема запчастей John Deere 60LC - 272 - Control Valve 3360 Hydraulic System
FIT
1:1
100%

Артикул

Название

Примечание

Количество

0

Flow Control Hyd. Valve

Additional Components Listed On Previous a nd Following Pages COMPONENTS ON THIS PAGE ARE FOR 4394591; 4394591 NLA, SUB 9199522; SUB FOR AT183682, AP34765, AP35557, 4394591

1шт.

7

4506416

O-Ring

SUB FOR AT215736

1шт.

8

0411901

O-Ring

23.300 X 2.400 mm (0.917" X 3/32") SUB FOR AT153977

2шт.

15

9134109

Drain Plug

SUB FOR AT215738 OR 0669503

1шт.

16

4506408

O-Ring

7.800 X 1.900 mm (0.307" X 0.075") SUB FOR TH101490

1шт.

17

0669504

Fitting Plug

SUB FOR AT215739

3шт.

18

CH11570

O-Ring

13.800 X 2.400 mm (0.543" X 3/32")

3шт.

19

0669505

Fitting Plug

SUB FOR AT215740

1шт.

20

AT318035

O-Ring

SUB FOR 4506424, TH100055

1шт.

77

0669701

Cover

SUB FOR AT215774

2шт.

78

19M8447

Screw

M10 X 35

8шт.

90

4372677

Valve

SUB FOR AT215973

1шт.

90A

0669507

Adapter Fitting

SUB FOR AT215742

1шт.

90B

0669508

Spring

SUB FOR AT215743

1шт.

90C

0669509

Piston

SUB FOR AT215744

1шт.

90D

0669510

Valve Seat

SUB FOR AT215745

1шт.

90E

0669511

Spring

SUB FOR AT215746

1шт.

90F

CH11570

O-Ring

13.800 X 2.400 mm (0.543" X 3/32")

1шт.

90G

0669512

Valve Seat Insert

SUB FOR AT215747

1шт.

90H

CH10568

Packing

1шт.

90I

0976602

O-Ring

SUB FOR TH103574 OR AT264354 OR 4S00734

1шт.

90J

AT264347

O-Ring

SUB FOR TH100136, 4506428

1шт.

90L

2046464

Nut

SUB FOR TH109179 AND 0309439

1шт.

Выбрано товаров: 23