Запчасти John Deere 60LC 284 - SHOCKLESS VALVE 3360 Hydraulic System

Схема запчастей John Deere 60LC - 284 - SHOCKLESS VALVE 3360 Hydraulic System
FIT
1:1
100%

Артикул

Название

Примечание

Количество

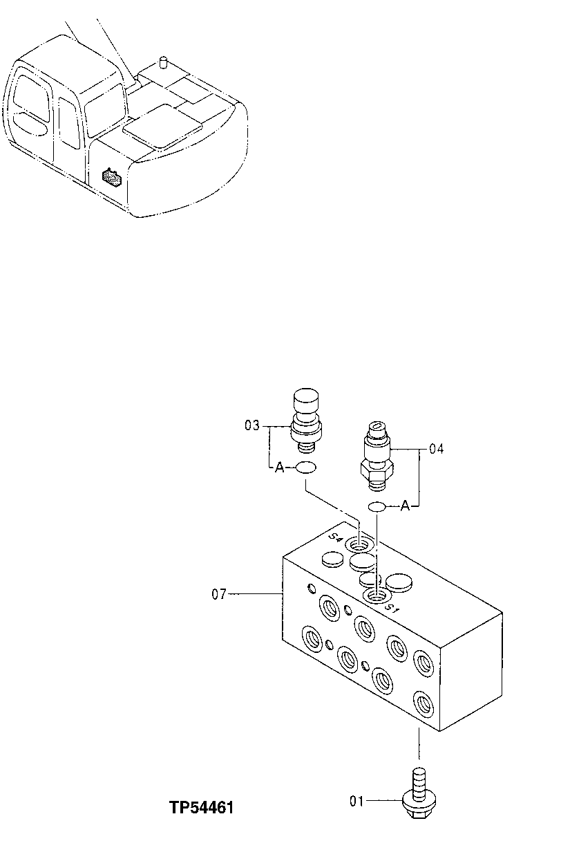
1

19M7402

Cap Screw

M10 X 25

2шт.

12M7066

Lock Washer

10 mm

2шт.

24M7028

Washer

10.500 X 20 X 2 mm

2шт.

3

4332040

Sensor

(SUB FOR AT213840)(ARM IN PRESSURE SENSOR)

1шт.

3A

M800650

Packing

1шт.

4

4333040

Switch

(SUB FOR AP33668 ) (SUB FOR AT21 3846)(BOOM RAISE PRESSURE SWITCH)

1шт.

4A

M800650

Packing

1шт.

7

4367131

Hyd Actuated Control Valve

Flow (STD) (SUB FOR AP34033)

1шт.

4371949

Hyd Actuated Control Valve

Flow (W/ ANTI-RUST PREVE NTION) (SUB FOR AP35561)

1шт.

Выбрано товаров: 9