Запчасти John Deere 60LC 293 - Pilot Lines 3360 Hydraulic System

Схема запчастей John Deere 60LC - 293 - Pilot Lines 3360 Hydraulic System
FIT
1:1
100%

Артикул

Название

Примечание

Количество

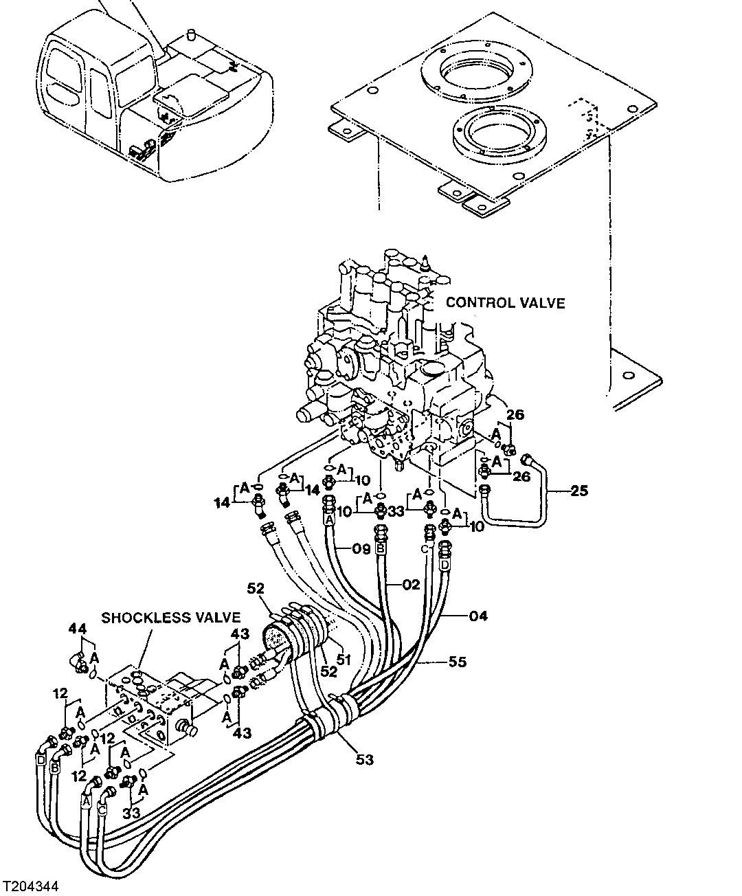
2

P61617

Hydraulic Hose

1шт.

4

P61619

Hydraulic Hose

1шт.

9

P61622

Hydraulic Hose

1шт.

10

4200466

Adapter Fitting

(SUB FOR TH108320)

3шт.

10A

CH11570

O-Ring

13.800 X 2.400 mm (0.543" X 3/32")

1шт.

12

4200466

Adapter Fitting

(SUB FOR TH108320)

3шт.

12A

CH11570

O-Ring

13.800 X 2.400 mm (0.543" X 3/32")

1шт.

14

4190244

Elbow Fitting

(SUB FOR TH106152)

2шт.

14A

CH11570

O-Ring

13.800 X 2.400 mm (0.543" X 3/32")

1шт.

25

P61788

Pipe

1шт.

26

4255305

Fitting

(SUB FOR AT213809)

2шт.

26A

CH11570

O-Ring

13.800 X 2.400 mm (0.543" X 3/32")

1шт.

33

4200468

Adapter Fitting

(SUB FOR AT126336)

2шт.

33A

CH11570

O-Ring

13.800 X 2.400 mm (0.543" X 3/32")

1шт.

43

4200466

Adapter Fitting

(SUB FOR TH108320)

8шт.

43A

CH11570

O-Ring

13.800 X 2.400 mm (0.543" X 3/32")

1шт.

44

AT318014

Elbow Fitting

(SUB FOR 4156434, TH101930)

1шт.

44A

M800650

Packing

1шт.

51

P61745

Cover

1шт.

52

H77698

Tie Band

2шт.

53

M86436

Tie Band

1шт.

55

P61645

Hydraulic Hose

1шт.

Выбрано товаров: 22