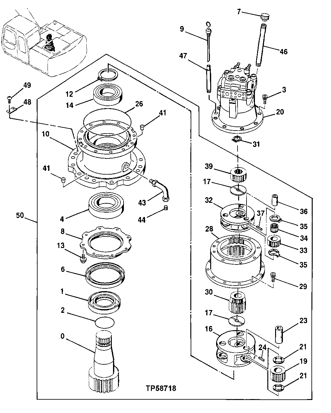
Запчасти John Deere 60LC 321 - Swing Device 4360 Hydraulics

Схема запчастей John Deere 60LC - 321 - Swing Device 4360 Hydraulics
FIT
1:1
100%

Артикул

Название

Примечание

Количество

0

2036775

Shaft

(SUB FOR AT213731)

1шт.

1

Sleeve

(SUB 3084390, (3) 4204644 AND (3) 21M7265)( AT202067 OR 3045362 NLA)

1шт.

3084390

Sleeve

1шт.

4204644

Magnet

3шт.

2

AT264339

O-Ring

(SUB FOR TH100122)

1шт.

3

19M8168

Screw

M12 X 25

8шт.

4

AT173109

Spherical Roller Bearing

1шт.

21M7265

Screw

M5 X 12

3шт.

6

4416076

Seal

(SUB FOR AT213804)

1шт.

7

4343365

Cap

(SUB FOR AT204965)

1шт.

8

3060672

Cover

(SUB FOR AT202070)

1шт.

9

3074223

Dipstick

(SUB FOR AT213790)

1шт.

10

1020333

Housing

(SUB FOR AT213719)

1шт.

12

991352

Snap Ring

(SUB FOR AT127246)

1шт.

13

19M7493

Cap Screw

M12 X 40

8шт.

12H301

Lock Washer

1/2"

8шт.

14

AT309595

Bearing

(SUB FOR AT214019, 4364756)

1шт.

16

1020329

Planet Pinion Carrier

(SUB FOR AT213718)

1шт.

17

4176073

Plate

(SUB FOR AT126233)

2шт.

19

9742777

Gear

(SUB FOR AT214400)

3шт.

20

4367036

Motor

NLA (ORDER 4367036EX)

1шт.

AT183685

Hydraulic Motor

NLA (ORDER 4367036EX)

1шт.

4367036EX

Hydraulic Motor Reman

(REMAN FOR AT183685 OR 4367036) (SUB FOR AT218116) (USE UNTIL EXHAUSTED)

1шт.

21

4266933

Plate

(SUB FOR AT202113)

6шт.

23

4488904

Pin

(SUB FOR 4336925, AT213868)

3шт.

24

34M7225

Spring Pin

8 X 28 mm (SUB FOR 34M6402)

3шт.

26

4337206

O-Ring

(SUB FOR AT213872)

1шт.

28

1019790

Ring Gear

(SUB FOR AT213714)

1шт.

29

19M8445

Screw

M16 X 45

12шт.

30

3069514

Sun Gear

(SUB FOR AT213759)

1шт.

31

962002

Snap Ring

(SUB FOR TH100483)

1шт.

32

1020328

Planet Pinion Carrier

(SUB FOR AT213717)

1шт.

33

3069510

Gear

(SUB FOR AT213757)

3шт.

34

4404506

Needle Bearing

(SUB FOR AT213870)

3шт.

35

4336926

Plate

(SUB FOR AT213869)

6шт.

36

4336923

Pin

(SUB FOR AT213867)

3шт.

37

4051262

Spring Pin

(SUB FOR AT213796)

3шт.

39

3069512

Sun Gear

(SUB FOR AT213758)

1шт.

41

99M7010

Plug

2шт.

43

Oil Line

( 8060496 NLA) (SUB FOR AT214354)

1шт.

3089362

Line

1шт.

44

94-2013

Fitting Plug

(USE WITH 8060496) (SUB FOR TH100648)

1шт.

94-2012

Fitting Plug

(USE WITH 3089362)

1шт.

46

4332658

Tube

(SUB FOR AT213843)

1шт.

47

4264452

Tube

(SUB FOR AT154293)

1шт.

48

Identification Plate

1шт.

49

37H99

Screw

0.100" X 1/4"

2шт.

50

9148922

Device

(SUB FOR AT218241) Swing Device Without Swing Motor

1шт.

51

19M8224

Cap Screw

M20 X 60

12шт.

Выбрано товаров: 49