Запчасти John Deere 7ZTS 82 - AUGER PLANETARY DRIVE 3302 BUCKET WITH TEETH

Схема запчастей John Deere 7ZTS - 82 - AUGER PLANETARY DRIVE 3302 BUCKET WITH TEETH
FIT
1:1
100%

Артикул

Название

Примечание

Количество

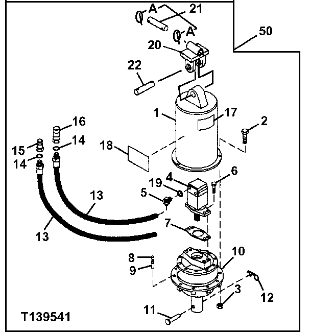
1

KV16004

Housing

1шт.

2

19H2355

Cap Screw

9/16" X 1-1/2"

3шт.

3

T69760

Lock Nut

14.275 mm (9/16")

3шт.

4

KV20301

Motor

1шт.

5

AT32338

Fitting

2шт.

6

19H1721

Cap Screw

1/2" X 1-1/2"

4шт.

7

KV16010

Gasket

1шт.

8

KV16012

Breather

1шт.

9

KV16011

Spool Valve

1шт.

10

KV16005

Crankcase

1шт.

11

KV18463

Pin

1шт.

12

M72598

Quick Lock Pin

1шт.

13

AT189443

Hydraulic Hose

2шт.

14

U12547

O-Ring

2шт.

15

M131863

Hydr. Quick Coupler Plug

MALE

1шт.

16

M131862

Hyd. Quick-Connect Coupler

FEMALE

1шт.

17

KV16014

Label

DANGER

1шт.

18

T211967

Label

WORKSITE PRO™ (SUB FOR KV22122 OR KV20299)

1шт.

19

R26906

O-Ring

2шт.

20

AT191249

Bracket

1шт.

21

AT191250

Pin

1шт.

21A

T184980

Pin

2шт.

22

AT191248

Pin

1шт.

50

Auger

(WHOLE GOODS) ( AT189212 NLA)

1шт.

Выбрано товаров: 24