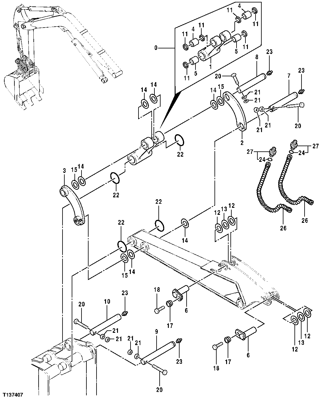
Запчасти John Deere 7ZTS 98 - STANDARD ARM SUPPORT 3346 DIPPERSTICK

Схема запчастей John Deere 7ZTS - 98 - STANDARD ARM SUPPORT 3346 DIPPERSTICK
FIT
1:1
100%

Артикул

Название

Примечание

Количество

1

Link

( TH3056343 NLA)

1шт.

2

4682772J

Link

(SUB FOR 3056342)

1шт.

3

8112985J

Link

(SUB FOR 8050822)

1шт.

4

4340417

Bushing

(SUB FOR TH4340417)

2шт.

5

4421736

Bushing

(SUB FOR TH4333660 OR 4333660)

2шт.

6

9755265

Pin Fastener

(SUB FOR TH9755265)

2шт.

7

4333015

Pin Fastener

(SUB FOR TH4333015)

1шт.

8

4333016

Pin Fastener

(SUB FOR TH4333016)

1шт.

9

4333017

Pin Fastener

(SUB FOR TH4333017)

1шт.

10

4333018

Pin Fastener

(SUB FOR TH4333018)

1шт.

11

4347248

Seal

(SUB FOR TH4347248)

6шт.

12

4352134

Shim

(SUB FOR TH4352134)

4шт.

13

4354263

Shim

(SUB FOR TH4354263)

2шт.

14

4359554

Shim

(SUB FOR TH4359554)

6шт.

15

4359555

Shim

(SUB FOR TH4359555)

3шт.

17

4339354

Bushing

(SUB FOR TH4339354)

2шт.

18

19M8011

Cap Screw

M12 X 30

2шт.

20

19M7185

Cap Screw

M8 X 60

4шт.

21

14M7273

Nut

M8

8шт.

22

4275463

O-Ring

(SUB FOR TH4275463)

4шт.

23

TH100074

Lubrication Fitting

4шт.

24

M800650

Packing

1шт.

26

TH4453164

Hydraulic Hose

2шт.

TH4464699

Hydraulic Hose

2шт.

27

4042030

Adapter Fitting

(SUB FOR TH105939)

2шт.

42

8060433

Link

(SUB FOR TH8060433)

1шт.

Выбрано товаров: 26