Запчасти John Deere 7ZTS 111 - Control Valve Bucket Spool Section 3362 CONTROL & LOAD HOLDING VALVES

Схема запчастей John Deere 7ZTS - 111 - Control Valve Bucket Spool Section 3362 CONTROL & LOAD HOLDING VALVES
FIT
1:1
100%

Артикул

Название

Примечание

Количество

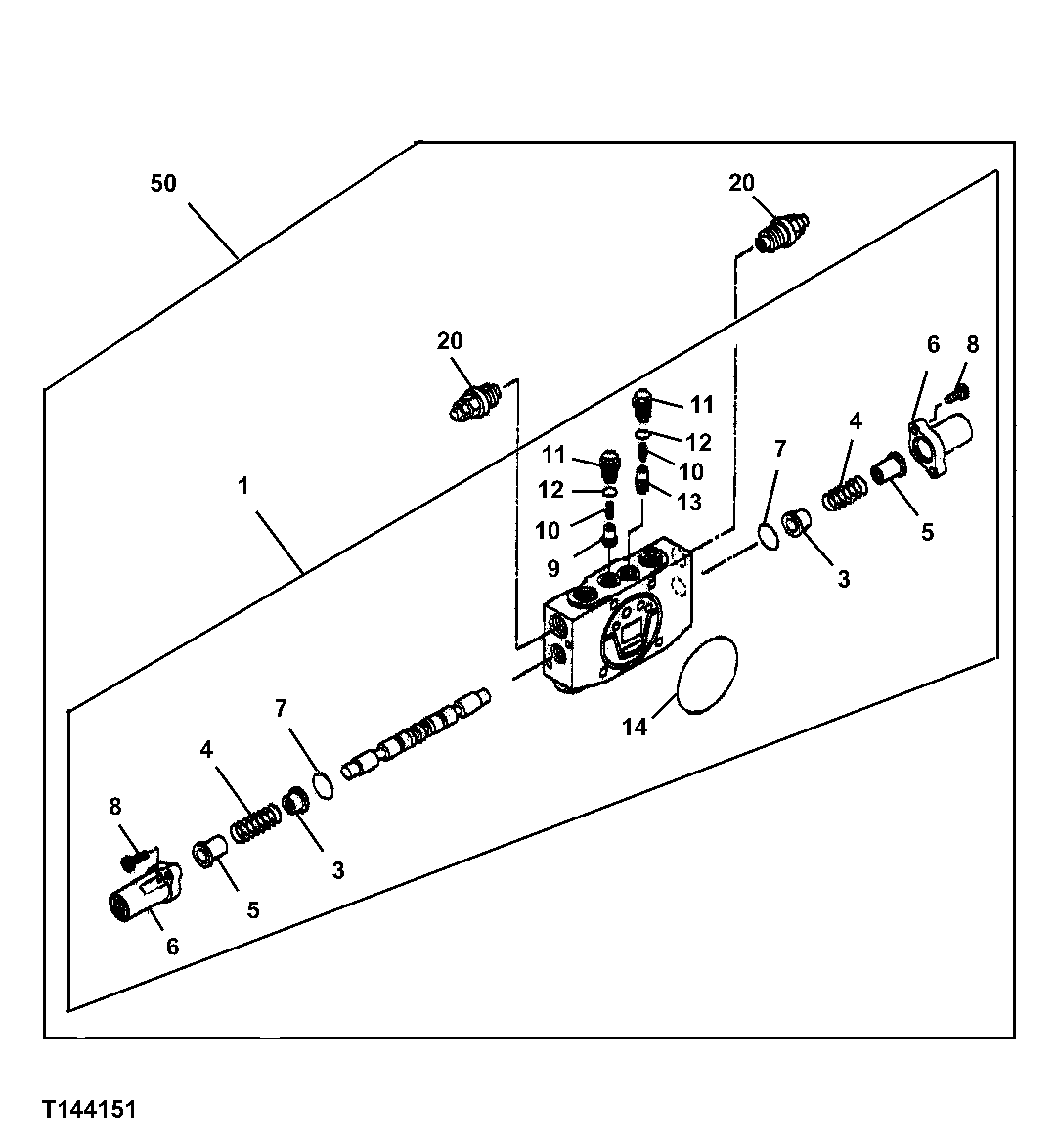
1

0801301

Spool Valve

SUB FOR TH0801301

1шт.

3

0429310

Guide

SUB FOR TH0429310

2шт.

4

0801302

Spring

SUB FOR TH0801302

2шт.

5

0801303

Guide

SUB FOR TH0801303

2шт.

6

0801304

Cover

SUB FOR TH0801304

2шт.

7

0429313

O-Ring

SUB FOR TH0429313

2шт.

8

0429314

Bolt

SUB FOR TH0429314

4шт.

9

0801305

Poppet

SUB FOR TH0801305

1шт.

10

0801306

Spring

SUB FOR TH0801306

2шт.

11

0801307

Fitting Plug

SUB FOR TH0801307

2шт.

12

M800650

Packing

2шт.

13

0801308

Poppet

SUB FOR TH0801308

1шт.

14

0801203

O-Ring

SUB FOR TH0801203 OR 4S00620

1шт.

20

0735916

Pressure Relief Valve

SUB FOR TH0735916

2шт.

50

Shut-Off Valve

SUB FOR TH4438713, 4438713 NLA In cludes All Components On This Page and Previous and Following Pages

1шт.

Выбрано товаров: 15