Запчасти John Deere 7ZTS 115 - Control Valve Right Travel Spool Section 3362 CONTROL & LOAD HOLDING VALVES

Схема запчастей John Deere 7ZTS - 115 - Control Valve Right Travel Spool Section 3362 CONTROL & LOAD HOLDING VALVES
FIT
1:1
100%

Артикул

Название

Примечание

Количество

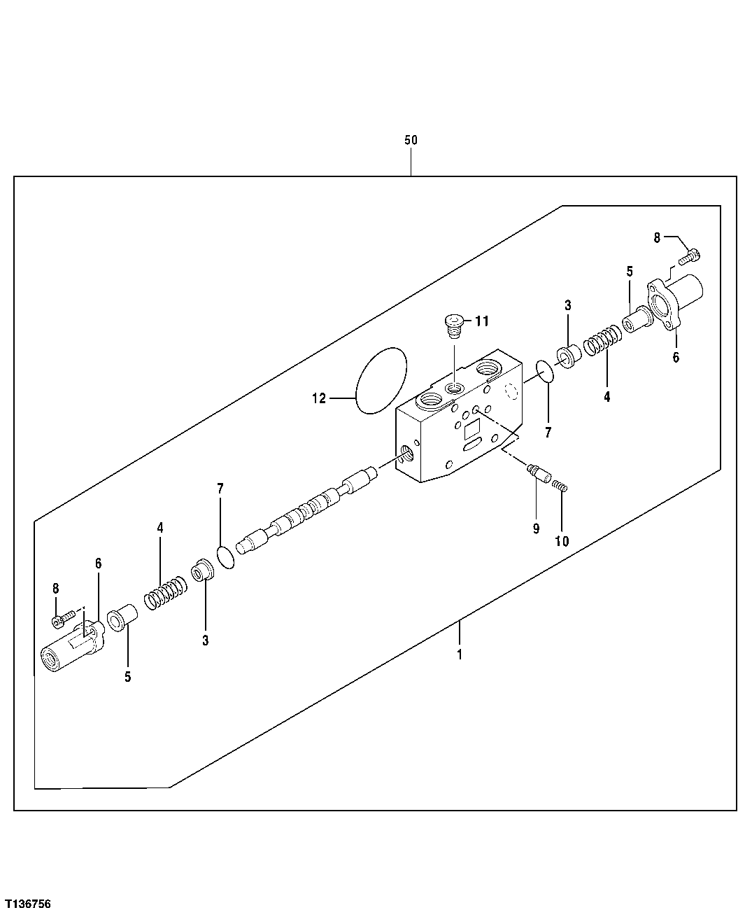
1

0801701

Spool Valve

SUB FOR TH0801701

1шт.

3

0429310

Guide

SUB FOR TH0429310

2шт.

4

0801302

Spring

SUB FOR TH0801302

2шт.

5

0801303

Guide

SUB FOR TH0801303

2шт.

6

0801304

Cover

SUB FOR TH0801304

2шт.

7

0429313

O-Ring

SUB FOR TH0429313

2шт.

8

0429314

Bolt

SUB FOR TH0429314

4шт.

9

0801502

Poppet

SUB FOR TH0801502

1шт.

10

0219010

Spring

SUB FOR AT250464

1шт.

11

0801503

Fitting Plug

SUB FOR TH0801503

1шт.

12

0801203

O-Ring

SUB FOR TH0801203 OR 4S00620

1шт.

50

Shut-Off Valve

SUB FOR TH4438713, 4438713 NLA I ncludes All Components On This Pag e and Previous and Following Page

1шт.

Выбрано товаров: 12