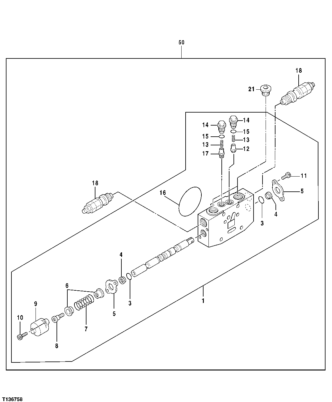
Запчасти John Deere 7ZTS 117 - Control Valve Reserve Spool Section 3362 CONTROL & LOAD HOLDING VALVES

Схема запчастей John Deere 7ZTS - 117 - Control Valve Reserve Spool Section 3362 CONTROL & LOAD HOLDING VALVES
FIT
1:1
100%

Артикул

Название

Примечание

Количество

1

0801901

Spool Valve

SUB FOR TH0801901

1шт.

3

CH10568

Packing

2шт.

4

0219011

Seal

SUB FOR TH106891

2шт.

5

0219008

Plate

SUB FOR TH106889

2шт.

6

0219005

Retainer

SUB FOR AT250462

2шт.

7

0219006

Spring

SUB FOR TH0219006

1шт.

8

0801902

Screw

SUB FOR TH0801902

1шт.

9

0801903

Cover

SUB FOR TH0801903

1шт.

10

0429306

Screw

SUB FOR AT250466

2шт.

11

21M7278

Screw

M5 X 10

2шт.

12

0801305

Poppet

SUB FOR TH0801305

1шт.

13

0801306

Spring

SUB FOR TH0801306

2шт.

14

0801307

Fitting Plug

SUB FOR TH0801307

2шт.

15

M800650

Packing

2шт.

16

0801203

O-Ring

SUB FOR TH0801203 OR 4S00620

1шт.

17

0801904

Poppet

SUB FOR TH0801904

1шт.

18

4612333

Pressure Relief Valve

SUB FOR TH0801905 OR 0801905

2шт.

21

0695007

Fitting Plug

INCLUDES CH11570, SUB FOR AT250518

2шт.

CH11570

O-Ring

1шт.

50

Shut-Off Valve

SUB FOR TH4438713, 4438713 NLA In cludes All Components On This Page and Previous and Following Pages

1шт.

Выбрано товаров: 20