Запчасти John Deere 7ZTS 135 - BUCKET CYLINDER 3365 HYDRAULIC CYLINDERS

Схема запчастей John Deere 7ZTS - 135 - BUCKET CYLINDER 3365 HYDRAULIC CYLINDERS
FIT
1:1
100%

Артикул

Название

Примечание

Количество

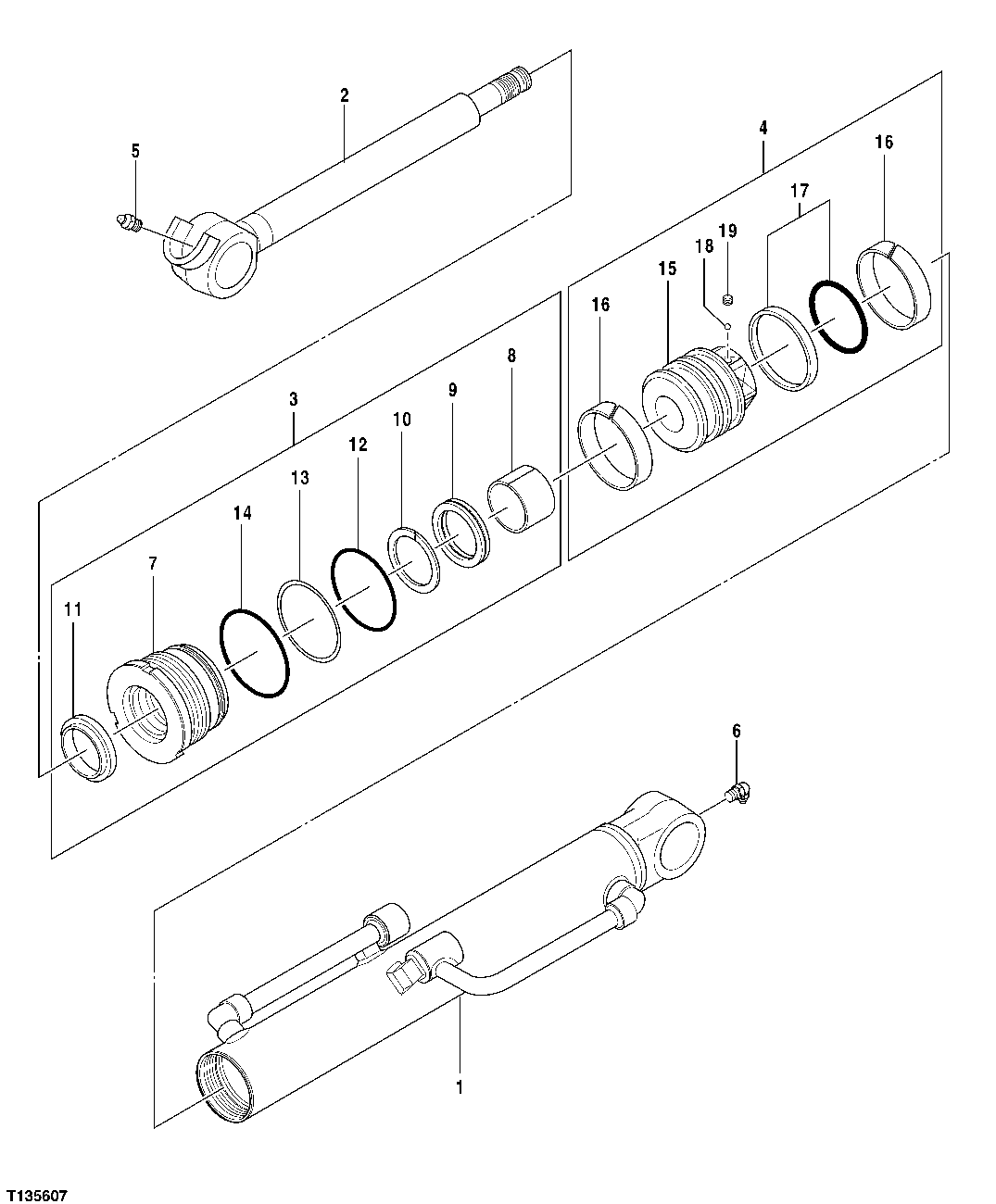
1

0800301J

Hydraulic Cylinder Barrel

(SUB FOR 0800301)

1шт.

2

0800302J

Hydraulic Cylinder Rod

(SUB FOR 0800302)

1шт.

3

Hydr. Cylinder Rod Guide

( TH0800303 NLA)

1шт.

4

Piston

( TH0800304 NLA)

1шт.

5

0429920

Lubrication Fitting

(SUB FOR TH0429920)

1шт.

6

AH226482

Lubrication Fitting

(SUB FOR 0225709 OR CH18478)

1шт.

7

0430302J

Hydr. Cylinder Rod Guide

(SUB FOR 0430302)

1шт.

8

1157904

Bushing

(SUB FOR TH0430303, 0430303)

1шт.

9

0430304

Packing

(SUB FOR TH0430304)

1шт.

10

0430305

Back-Up Ring

(SUB FOR TH0430305)

1шт.

11

0800104

Seal

(SUB FOR TH0800104)

1шт.

12

0429907

O-Ring

(SUB FOR TH0429907)

1шт.

13

0417904

Back-Up Ring

(SUB FOR TH0429908, 0429908)

1шт.

14

0429910

O-Ring

(SUB FOR TH0429910)

1шт.

15

0800305

Piston

(SUB FOR TH0800305)

1шт.

16

0800306

Ring

(SUB FOR TH0800306)

2шт.

17

0429916

Seal

(SUB FOR TH0429916)

1шт.

18

0431910

Ball

(SUB FOR AT203717)

1шт.

19

0429918

Set Screw

(SUB FOR TH0429918)

1шт.

Выбрано товаров: 19