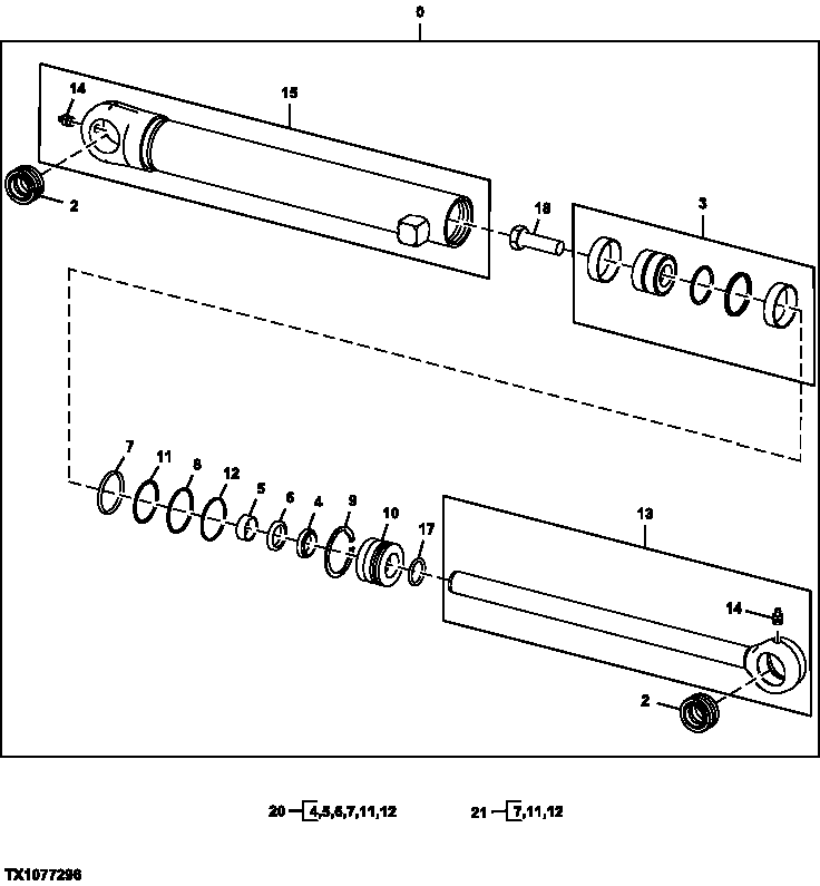
Запчасти John Deere 7ZTS 136 - Bucket Clamp Cylinder (Components) 3365 HYDRAULIC CYLINDERS

Схема запчастей John Deere 7ZTS - 136 - Bucket Clamp Cylinder (Components) 3365 HYDRAULIC CYLINDERS
FIT
1:1
100%

Артикул

Название

Примечание

Количество

0

AH216690

Hydraulic Cylinder

1шт.

2

Bushing

( AH209192 NLA)

2шт.

3

AH138200

Piston

1шт.

4

H150411

Seal

1шт.

5

H151629

Wear Ring

1шт.

6

H153659

Seal

1шт.

7

H158942

O-Ring

1шт.

8

H164359

Snap Ring

1шт.

9

H164360

Snap Ring

1шт.

10

H171330

Hydr. Cylinder Rod Guide

1шт.

11

R79117

Back-Up Ring

1шт.

12

T22828

O-Ring

1шт.

13

AH223545

Rod

1шт.

14

JD7798

Lubrication Fitting

2шт.

15

AH216691

Hydraulic Cylinder Barrel

1шт.

17

U46166

O-Ring

1шт.

18

19H2672

Cap Screw

5/8" X 2"

1шт.

20

AH158827

Hydraulic Cylinder Kit

1шт.

21

AH167552

Hydraulic Cylinder Kit

1шт.

Выбрано товаров: 19