Запчасти John Deere 7ZTS 18 - CAMSHAFT AND VALVE 0402 CAMSHAFT AND VALVE ACTUATING MEANS

Схема запчастей John Deere 7ZTS - 18 - CAMSHAFT AND VALVE 0402 CAMSHAFT AND VALVE ACTUATING MEANS
FIT
1:1
100%

Артикул

Название

Примечание

Количество

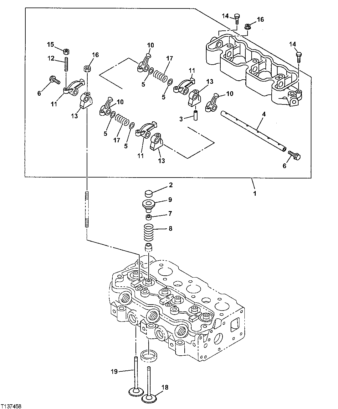
1

5863003920

Housing

(SUB FOR AT263074)

1шт.

2

5863004080

Cap

(SUB FOR AT263078)

6шт.

3

5863001300

Dowel Pin

(SUB FOR AT263027)

1шт.

4

5863004130

Rocker Arm Shaft

(SUB FOR AT263080)

1шт.

5

5863011560

Washer

(SUB FOR AT263153)

4шт.

6

5863001950

Bolt

(SUB FOR AT263058)

2шт.

7

5863004100

Bushing

(SUB FOR AT263079)

12шт.

8

5863010440

Compression Spring

(SUB FOR AT263134)

6шт.

9

5863004060

Plate

(SUB FOR AT263077)

6шт.

10

5863004220

Rocker Arm

(SUB FOR AT263081)

3шт.

11

5863004230

Rocker Arm

(SUB FOR AT263082)

3шт.

12

5863011670

Stud

(SUB FOR AT263155)

6шт.

13

5863014410

Bracket

(SUB FOR AT263165)

3шт.

14

5863000500

Bolt

(SUB FOR AT263005)

2шт.

15

5863000960

Nut

(SUB FOR AT263013)

6шт.

16

5863001080

Nut

(SUB FOR AT263018)

3шт.

17

5863010450

Spring

(SUB FOR AT263135)

2шт.

18

5863003990

Intake Valve

(SUB FOR AT263075)

3шт.

19

5863004030

Exhaust Valve

(SUB FOR AT263076)

3шт.

Выбрано товаров: 19