Запчасти John Deere 7ZTS 25 - ENGINE OIL LINES 0407 ENGINE OILING SYSTEM

Схема запчастей John Deere 7ZTS - 25 - ENGINE OIL LINES 0407 ENGINE OILING SYSTEM
FIT
1:1
100%

Артикул

Название

Примечание

Количество

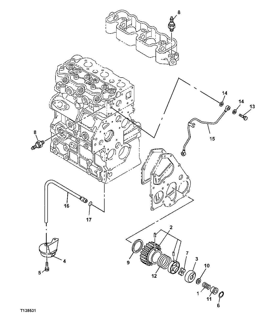
1

5863010370

Spring

(SUB FOR AT263131)

1шт.

2

5863008410

Gear

(SUB FOR AT263119)

1шт.

3

5863007470

Cover

(SUB FOR AT263109)

1шт.

4

5863007540

Strainer

(SUB FOR AT263111)

1шт.

5

5863000460

Bolt

(SUB FOR AT263002)

2шт.

6

5863001530

Snap Ring

(SUB FOR AT263042)

1шт.

7

5863007490

Rotor

(SUB FOR AT263110)

1шт.

8

5863008870

Pressure Switch

(SUB FOR AT263125)

1шт.

9

5863011540

Thrust Washer

(SUB FOR AT263152)

1шт.

10

5863011620

Shim

(SUB FOR AT263154)

1шт.

11

5863011500

Bushing

(SUB FOR AT263151)

1шт.

12

5863010410

Spring

(SUB FOR AT263133)

1шт.

13

5863010750

Bolt

(SUB FOR AT263143)

2шт.

14

5863007680

Sealing Washer

(SUB FOR AT263114)

4шт.

15

5863015720

Oil Line

(SUB FOR AT263198)

1шт.

16

5863007670

Oil Line

(SUB FOR AT263113)

1шт.

17

5863001740

O-Ring

(SUB FOR AT263052)

1шт.

Выбрано товаров: 17