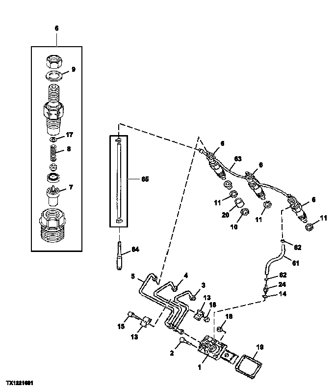
Запчасти John Deere 7ZTS 29 - FUEL INJECTION SYSTEM (ENGINE SN 520575- ) 0413 FUEL INJECTION SYSTEM

Схема запчастей John Deere 7ZTS - 29 - FUEL INJECTION SYSTEM (ENGINE SN 520575- ) 0413 FUEL INJECTION SYSTEM
FIT
1:1
100%

Артикул

Название

Примечание

Количество

1

5863020160

Pump

SUB FOR 5863015630 AND AT263193

1шт.

2

5863000490

Bolt

SUB FOR AT263004

2шт.

3

5863015640

Fuel Line

SUB FOR AT263194

1шт.

4

5863015660

Fuel Line

SUB FOR AT263195

1шт.

5

5863015680

Fuel Line

SUB FOR AT263196

1шт.

6

5863005950

Injection Nozzle

3шт.

7

5863005990

Nozzle

3шт.

8

5863006800

Spring

3шт.

9

5863006060

Washer

3шт.

10

5863011460

Gasket

3шт.

11

5863006050

Gasket

3шт.

13

5863011470

Half Clamp

SUB FOR AT263149

2шт.

14

5863001130

Gasket

3шт.

15

5863000130

Bolt

SUB FOR AT262997

2шт.

17

5863006670

Shim

3шт.

18

5863001070

Nut

SUB FOR AT263017

4шт.

19

5863006620

Shim

TK=0.2, SUB FOR AT263100

ARшт.

5863006630

Shim

TK=0.3, SUB FOR AT263101

ARшт.

5863006640

Shim

TK=0.4, SUB FOR AT263102

ARшт.

5863006650

Shim

TK=0.5, SUB FOR AT263103

ARшт.

5863006660

Shim

TK=0.5, SUB FOR AT263104

ARшт.

20

5863003130

Insert

3шт.

24

5863019490

Bolt

1шт.

61

5863019500

Line

1шт.

62

5863002050

Hose Clamp

2шт.

63

5863019480

Line

1шт.

64

5863019510

Line

1шт.

65

5863004940

Fuel Line

1шт.

Выбрано товаров: 28