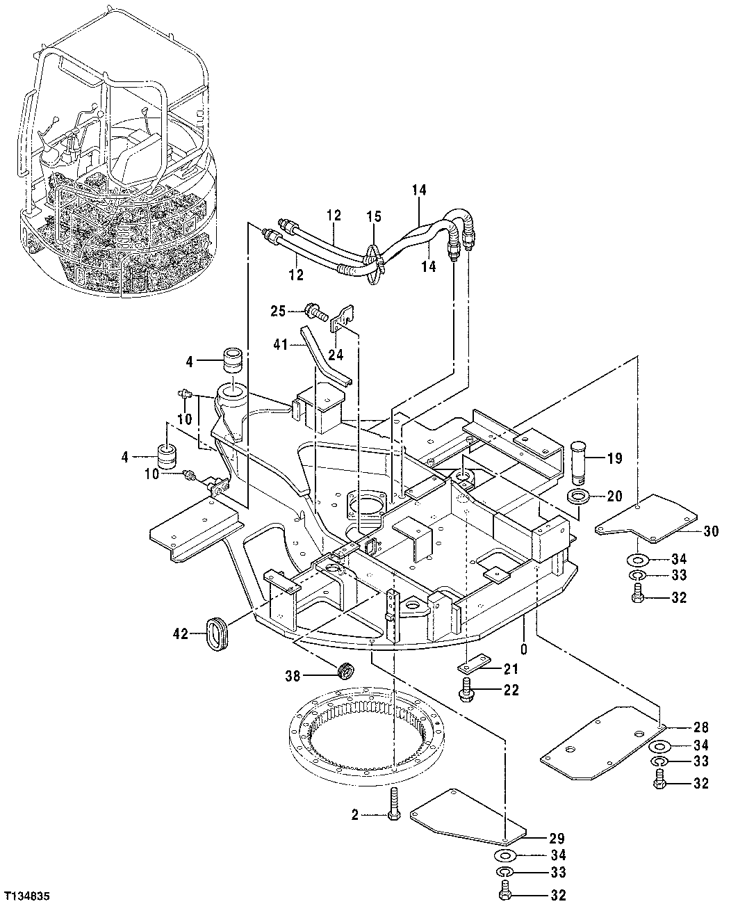
Запчасти John Deere 7ZTS 50 - MAIN FRAME 1741 MAIN FRAME

Схема запчастей John Deere 7ZTS - 50 - MAIN FRAME 1741 MAIN FRAME
FIT
1:1
100%

Артикул

Название

Примечание

Количество

0

6019411

Main Frame

(SUB FOR TH6019411)

1шт.

2

19M7935

Cap Screw

M10 X 55

17шт.

4

4332744

Bushing

(SUB FOR AT251234)

2шт.

10

TH100074

Lubrication Fitting

4шт.

12

TH4441372

Hydraulic Hose

2шт.

14

E73544

Conduit

(SUB FOR TH4371763)

2шт.

15

H77698

Tie Band

1шт.

19

4441374

Pin Fastener

(SUB FOR TH4441374)

1шт.

20

4623757

Spacer

(SUB FOR TH4441379, 4441379)

1шт.

21

4392683

Retainer

(SUB FOR AT251351)

1шт.

22

19M8011

Cap Screw

M12 X 30

2шт.

12M7058

Lock Washer

12 mm (SUB FOR 12M7067)

2шт.

24

4441375

Bracket

(SUB FOR TH4441375)

1шт.

25

19M7402

Cap Screw

M10 X 25

2шт.

24M7096

Washer

10.500 X 18 X 1.600 mm

2шт.

12M7066

Lock Washer

10 mm

2шт.

28

4441377

Guard

(SUB FOR TH4441377)

1шт.

29

4441378

Guard

(SUB FOR TH4441378)

1шт.

30

4441376

Guard

(SUB FOR TH4441376)

1шт.

32

19M7938

Cap Screw

M10 X 20

11шт.

33

12M7066

Lock Washer

10 mm

11шт.

34

24M7028

Washer

10.500 X 20 X 2 mm (SUB FOR 12M7096)

11шт.

38

4279257

Bushing

(SUB FOR AT250601)

1шт.

41

TH4454557

Bushing

1шт.

42

4455075

Bushing

(SUB FOR TH4455075)

1шт.

Выбрано товаров: 25