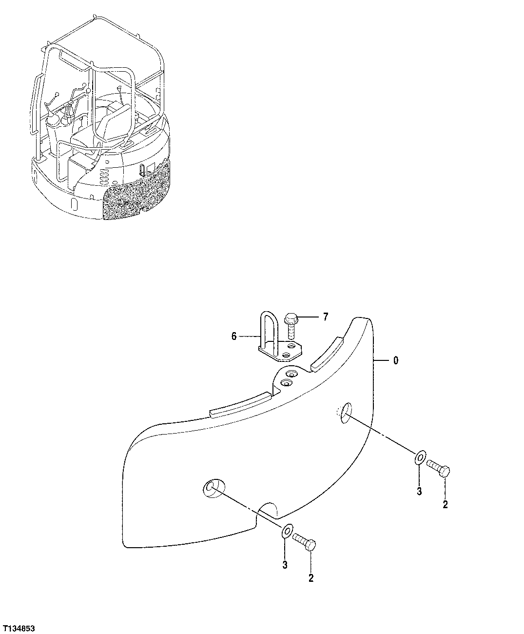
Запчасти John Deere 7ZTS 51 - COUNTERWEIGHT 1749 CHASSIS WEIGHTS

Схема запчастей John Deere 7ZTS - 51 - COUNTERWEIGHT 1749 CHASSIS WEIGHTS
FIT
1:1
100%

Артикул

Название

Примечание

Количество

0

6019352J

Counterweight

(SUB FOR 6019352)

1шт.

2

19M8147

Cap Screw

M20 X 90

2шт.

3

N231749

Washer

2шт.

6

9755243

Catch

(SUB FOR TH9755243)

1шт.

7

19M7872

Cap Screw

M12 X 25

2шт.

12M7058

Lock Washer

12 mm (SUB FOR 12M7067)

2шт.

24H1748

Washer

1/2" X 1-1/4" X 0.105"

2шт.

Выбрано товаров: 7