Запчасти John Deere 90E 63 - FUEL PIPINGS (010316 - ) 0560 External Fuel Supply Systems

Схема запчастей John Deere 90E - 63 - FUEL PIPINGS (010316 - ) 0560 External Fuel Supply Systems
FIT
1:1
100%

Артикул

Название

Примечание

Количество

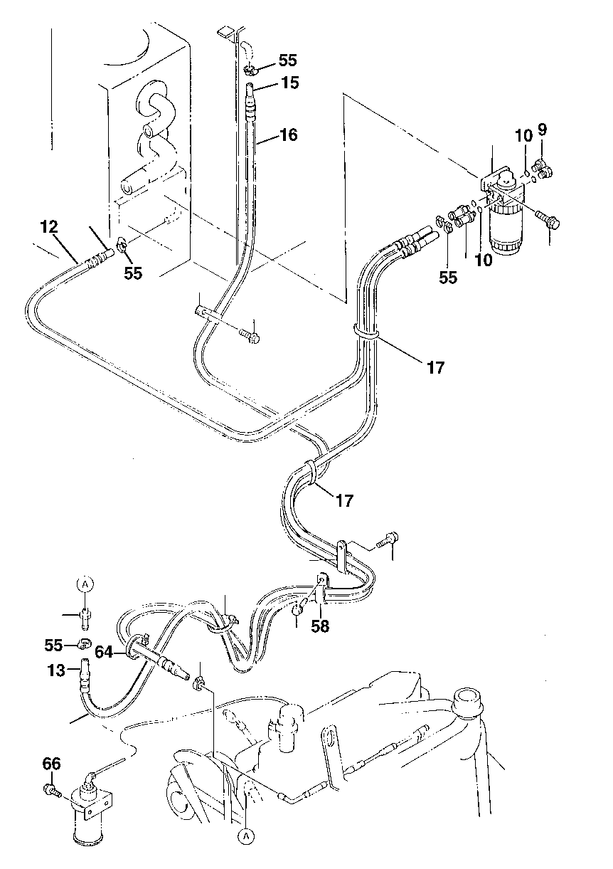
6

Filter

(WATER SEPARATOR)

1шт.

7

19M7550

Cap Screw

M10 X 35

2шт.

12M7066

Lock Washer

10 mm

2шт.

24M7028

Washer

10.500 X 20 X 2 mm

2шт.

8

Adapter Fitting

2шт.

9

Plug

2шт.

10

O-Ring

4шт.

11

Hose

(SUB M87571 BULK MATERIAL CUT TO LENGTH ) ( AT175856 NOT AVAILABLE FOR SERVICE)

1шт.

12

Conduit

(SUB T83427 BULK MATERIAL CUT TO LENGTH ) ( AT175857 NOT AVAILABLE FOR SERVICE)

1шт.

13

Hose

(SUB M87571 BULK MATERIAL CUT TO LENGTH ) ( AT175860 NOT AVAILABLE FOR SERVICE)

1шт.

14

Conduit

(SUB T83427 BULK MATERIAL CUT TO LENGTH ) ( AT175861 NOT AVAILABLE FOR SERVICE)

1шт.

15

Hose

(SUB M87571 BULK MATERIAL CUT TO LENGTH ) ( AT175863 NOT AVAILABLE FOR SERVICE)

1шт.

16

Conduit

(SUB T83427 BULK MATERIAL CUT TO LENGTH ) ( AT175864 NOT AVAILABLE FOR SERVICE)

1шт.

17

H77698

Tie Band

2шт.

18

R67293

Fitting

(SUB FOR TH100897)

1шт.

55

TY22464

Clamp

(SUB FOR AR21836)

6шт.

57

H77698

Tie Band

1шт.

58

R50454

Clamp

(SUB FOR TH109445 OR 4192034)

2шт.

59

19M7938

Cap Screw

M10 X 20

3шт.

60

R72659

Clamp

(SUB FOR AT122384 OR 4235654)

1шт.

64

H77698

Tie Band

1шт.

66

J900614

Bolt

(SUB FOR 19M8425, THIS APPL ICATION ) (SUB FOR TH104056)

2шт.

12M7006

Lock Washer

6 mm

2шт.

Выбрано товаров: 23