Запчасти John Deere 90E 64 - Fuel Tank 0560 External Fuel Supply Systems

Схема запчастей John Deere 90E - 64 - Fuel Tank 0560 External Fuel Supply Systems
FIT
1:1
100%

Артикул

Название

Примечание

Количество

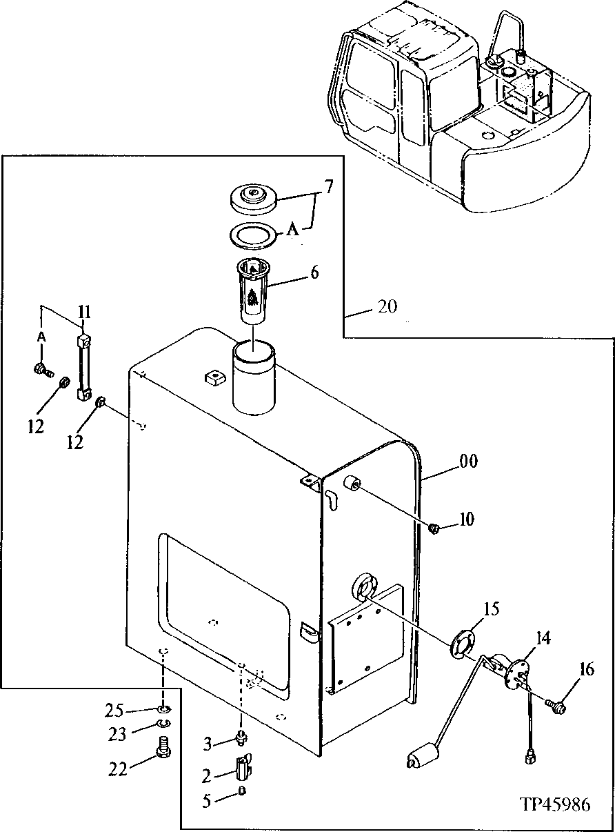
0

Fuel Tank

1шт.

2

4374265

Drain Valve

SUB FOR TH111035SUB FOR AT177419

1шт.

3

T116057

Fitting

1шт.

5

942011

Fitting Plug

SUB FOR 94-2011 AND TH100434

1шт.

6

4121496

Fuel Filter

SUB FOR TH100509

1шт.

7

4361638

Cap

SUB FOR TH108249, KEY LOCK ABLE, ORDER KEY SEPARATELY

1шт.

AT194969

Key

SUB FOR AT147803, H800, NOT ILLUSTRATED

1шт.

AT323462

Filler Cap

SUB FOR TH108249, AT175989 OR 4361638, CAN BE LOCKED WITH PADLOCK, PADLOCK NOT INCLUDED

1шт.

7A

4168820

Packing

SUB FOR TH103384, USE WITH TH108249 FUEL CAP

1шт.

10

94-2013

Fitting Plug

SUB FOR TH100648

1шт.

11

8033923

Level Gauge

SUB FOR TH108250

1шт.

11A

4100967

Bolt

SUB FOR TH101894

2шт.

12

449558

Washer

SUB FOR TH100675

4шт.

14

4660782

Float

SUB FOR AT154239 OR 4257128

1шт.

15

T211051

Gasket

SUB FOR U42323

1шт.

16

21M7278

Screw

M5 X 10

5шт.

20

9110741

Fuel Tank

SUB FOR AT168868

1шт.

22

19M8035

Cap Screw

M16 X 35

4шт.

23

12H294

Lock Washer

5/8"

4шт.

25

R73290

Washer

16.280 X 27 X 2.670 mm (4 1/64" X 1-1/16" X 0.105")

4шт.

Выбрано товаров: 20