Запчасти John Deere 90E 116 - HEATER CONTROLS (010162 - 011118) 1830 HEATING AND AIR CONDITIONING

Схема запчастей John Deere 90E - 116 - HEATER CONTROLS (010162 - 011118) 1830 HEATING AND AIR CONDITIONING
FIT
1:1
100%

Артикул

Название

Примечание

Количество

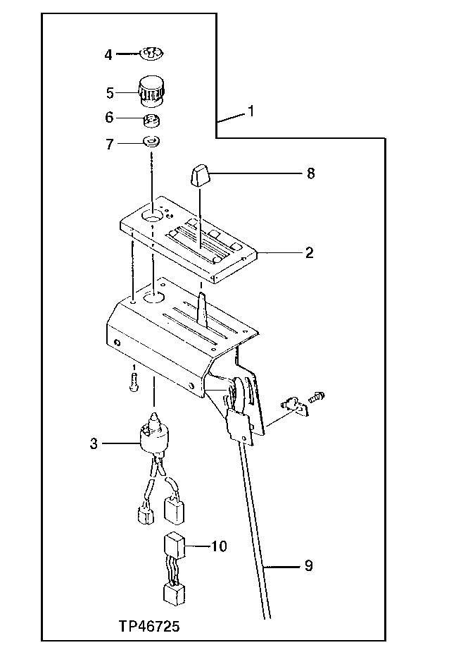
1

4342342

Electronic Control Unit

(SUB FOR AT172752)

1шт.

2

4295524

Instrument Panel

(SUB FOR AT155653)

1шт.

3

4351468

Switch

(SUB FOR AT155654)

1шт.

4

4351525

Plate

(SUB FOR AT172754)

1шт.

5

4351521

Knob

(SUB FOR AT172753)

1шт.

6

4351519

Nut

(SUB FOR AT172755)

1шт.

7

4351520

Washer

(SUB FOR AT172756)

1шт.

8

4351522

Knob

(SUB FOR AT155656)

1шт.

9

4352935

Cable

(SUB FOR AT155657)

1шт.

10

4349944

Wire

(SUB FOR AT172757)

1шт.

Выбрано товаров: 10