Запчасти John Deere 90E 5 - Track Link 0130 TRACK SYSTEM

Схема запчастей John Deere 90E - 5 - Track Link 0130 TRACK SYSTEM
FIT
1:1
100%

Артикул

Название

Примечание

Количество

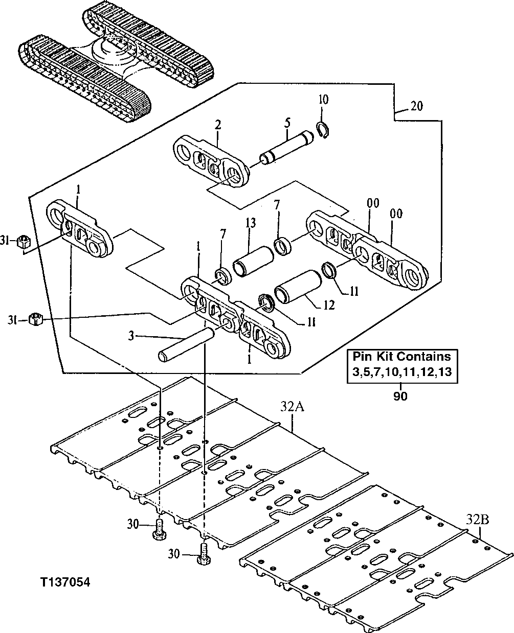
0

1015394

Strutted LINK-LH

SUB FOR AT134373

36шт.

1

1015395

Strutted LINK-RH

SUB FOR AT134374

37шт.

2

4262581

Master Track LINK-LH

SUB FOR AT134375, MASTER

1шт.

3

4156583

Pin

(K) SUB FOR TH106074

36шт.

5

4263097

Master Track Pin

(K) SUB FOR AT134376, MASTER

1шт.

7

4262585

Bushing

(K) SUB FOR AT134377

2шт.

10

4188841

Snap Ring

(K) SUB FOR TH110493

1шт.

11

4283930

Seal

(K) SUB FOR AT134378 AND AT167074

72шт.

12

4262582

Bushing

(K) SUB FOR AT134379

36шт.

13

4262583

Bushing

(K) SUB FOR AT134380, MASTER

1шт.

20

9096710

Track Chain W/O Shoes

NLA, SUB FOR AT134372

1шт.

30

4262586

Bolt

SUB FOR AT134381

148шт.

31

4114673

Nut

SUB FOR AT134382 OR 4262587

148шт.

32A

Triple Bar Shoe

SUB AT170012, 450 MM - 18 INCH , AT134383 NO LONGER AVAILABLE

37шт.

2030532

Open Center 3 Bar Shoe

SUB FOR AT134385, 600 MM - 24 INCH

37шт.

32B

2037593

Open Center 3 Bar Shoe

SUB FOR AT134383 AND AT 170012, 450 MM - 18 INCH

37шт.

90

AT170089

Bushing Kit

Includes All (K) Parts One Kit Will Servic e a 37 Link Chain Track Pin and Bushing Kit

1шт.

Выбрано товаров: 0