Запчасти John Deere 90E 132 - OIL TANK 2160 HYDRAULIC SYSTEM

Схема запчастей John Deere 90E - 132 - OIL TANK 2160 HYDRAULIC SYSTEM
FIT
1:1
100%

Артикул

Название

Примечание

Количество

0

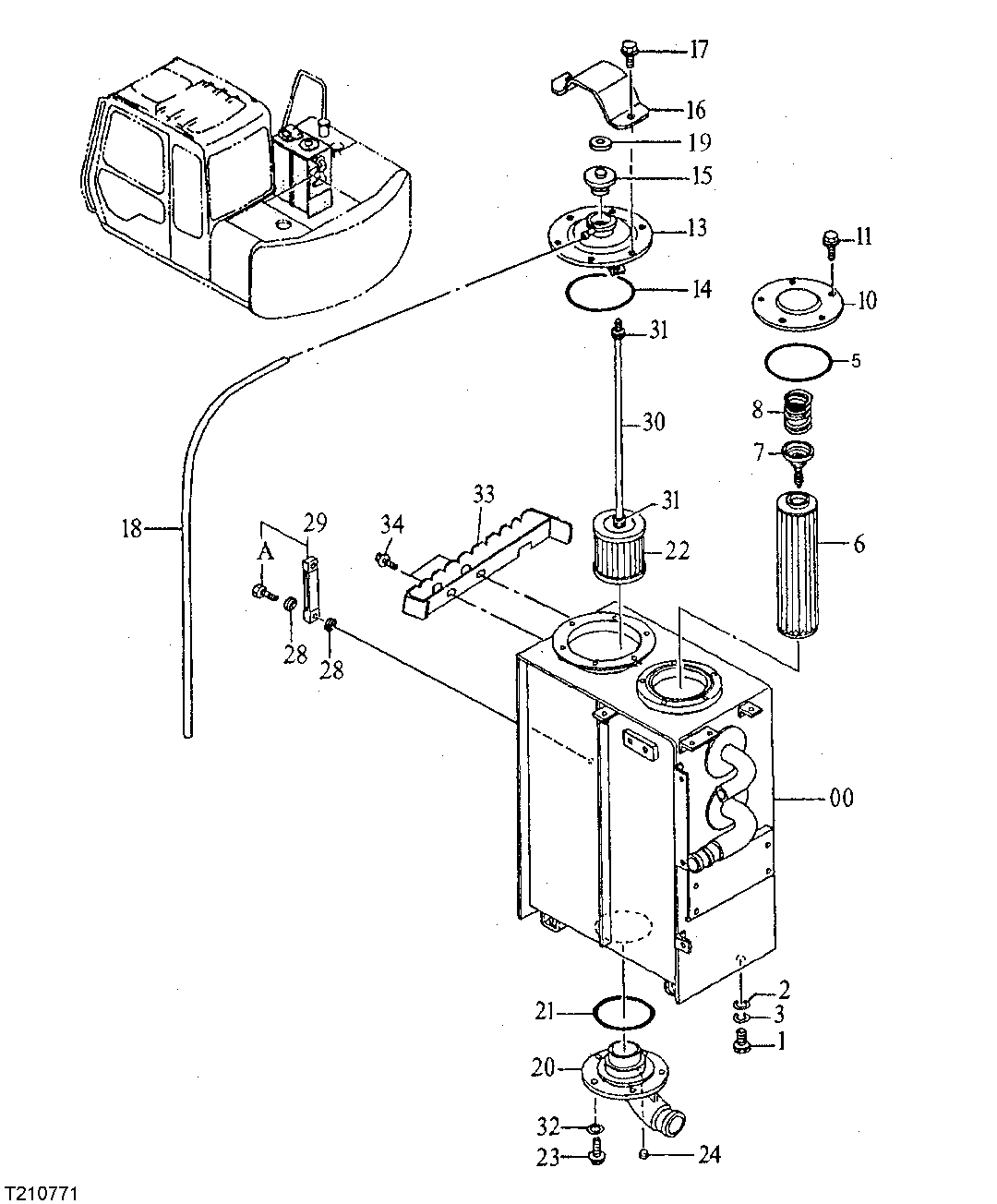
6012980

Tank

(SUB FOR AT200624)

1шт.

1

19M8035

Cap Screw

M16 X 35

4шт.

2

R73290

Washer

16.280 X 27 X 2.670 mm (4 1/64" X 1-1/16" X 0.105")

4шт.

3

12H294

Lock Washer

5/8"

4шт.

5

CH17213

Packing

1шт.

6

AT308568

Filter Element

(ALSO ORDER CH17213 ) (SUB FO R TH111011 ) (SUB FOR 4225846)

1шт.

7

4094438

Flow Control Hyd. Valve

(SUB FOR TH100663)

1шт.

8

4094439

Spring

(SUB FOR TH100664)

1шт.

10

4264508

Cover

(SUB FOR AT154296)

1шт.

11

19M7938

Cap Screw

M10 X 20

5шт.

12M7066

Lock Washer

10 mm

5шт.

13

8050478

Cover

(SUB FOR AT200651)

1шт.

14

TH100679

O-Ring

159.300 X 5.700 mm (6.272" X 0.224")

1шт.

15

4336561

Cap

(SUB FOR AT164266)

1шт.

16

4282883

Plate

(SUB FOR AT154360)

1шт.

17

19M7402

Cap Screw

M10 X 25

6шт.

12M7066

Lock Washer

10 mm

6шт.

18

Bulk Hose

(SUB FOR TH100673)(MF PMK0 10-0507 CTL) ( 4149677 NLA)

1шт.

19

T146670

Label

(CAUTION - RADIATOR CAP)

1шт.

20

2033475

Line

(SUB FOR AT200366)(SUCTION)

1шт.

21

TH102793

O-Ring

129.600 X 5.700 mm (5.102" X 0.224")

1шт.

22

4285577

Strainer

(SUB FOR AT154383)(SUCTION)

1шт.

23

19M7662

Cap Screw

M10 X 30

5шт.

24

942011

Fitting Plug

(SUB FOR 94-2011 AND TH100434)

1шт.

28

449558

Washer

(SUB FOR TH100675)

4шт.

29

8053499

Level Gauge

(SUB FOR TH108293)

1шт.

29A

4100967

Bolt

(SUB FOR TH101894)

2шт.

30

4285578

Rod

(SUB FOR AT154384)

1шт.

31

14M7274

Nut

M10

3шт.

32

12M7066

Lock Washer

10 mm

5шт.

33

8057631

Step

(SUB FOR AT163703)

1шт.

34

19M7550

Cap Screw

M10 X 35

2шт.

12M7066

Lock Washer

10 mm

2шт.

Выбрано товаров: 33