Запчасти John Deere 90E 135 - OIL PIPINGS 2160 HYDRAULIC SYSTEM

Схема запчастей John Deere 90E - 135 - OIL PIPINGS 2160 HYDRAULIC SYSTEM
FIT
1:1
100%

Артикул

Название

Примечание

Количество

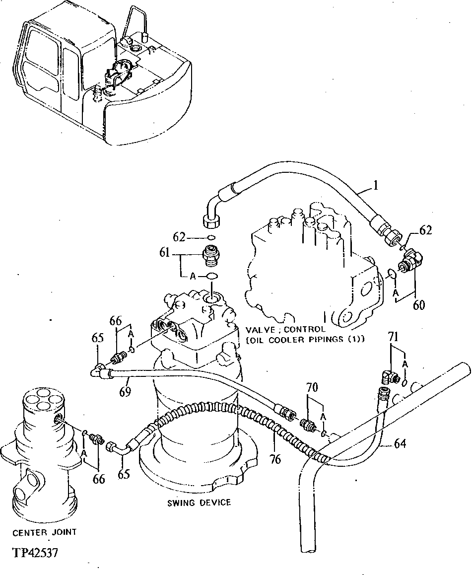
1

AT200724

Hydraulic Hose

30.1752" X 600 mm (23-1/2") X 30.1752"

1шт.

60

4202113

Elbow Fitting

SUB FOR TH109535

1шт.

60A

TH101926

O-Ring

28.700 X 3.500 mm (1.130" X 0.138")

1шт.

61

A853166

Adapter Fitting

SUB FOR AT107392 OR 4189619

1шт.

61A

AT318035

O-Ring

SUB FOR 4506424, TH100055

1шт.

62

T77858

O-Ring

18.771 X 1.778 mm (0.739" X 0.070")

2шт.

64

AR90081

Hydraulic Hose

9/16" X 1270 mm (50") X 9/16"

1шт.

65

AE24616

Elbow Fitting

2шт.

66

4200466

Adapter Fitting

SUB FOR TH108320

2шт.

66A

CH11570

O-Ring

1шт.

69

AR86055

Hydraulic Hose

9/16" X 622 mm (24-1/2") X 9/16"

1шт.

70

4200469

Adapter Fitting

SUB FOR TH108400

1шт.

70A

4506418

O-Ring

17.800 X 2.400 mm (0.701 " X 3/32") SUB FOR U46489

1шт.

71

4200471

Elbow Fitting

SUB FOR TH108399

1шт.

71A

4506418

O-Ring

17.800 X 2.400 mm (0.701 " X 3/32") SUB FOR U46489

1шт.

76

4327315

Hose Guard

SUB FOR TH106022, 4133527 OR 4327293

2шт.

Выбрано товаров: 16