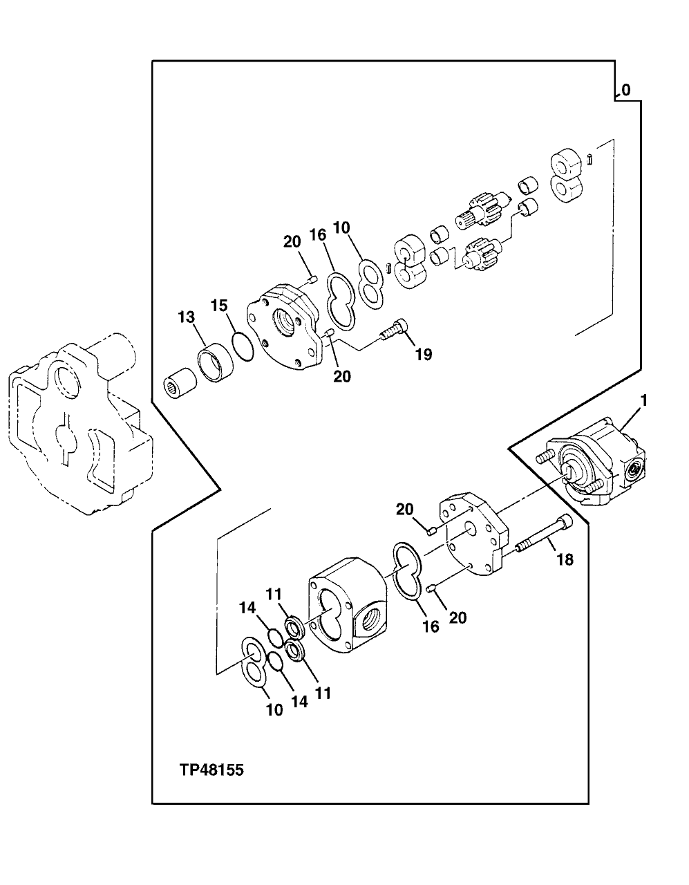
Запчасти John Deere 90E 144 - Gear Pump (Blade) 2160 HYDRAULIC SYSTEM

Схема запчастей John Deere 90E - 144 - Gear Pump (Blade) 2160 HYDRAULIC SYSTEM
FIT
1:1
100%

Артикул

Название

Примечание

Количество

0

4377974

Pump

(SUB FOR AT177904)

1шт.

1

4255183

Pump

(SUB FOR AT200423)

1шт.

10

0295002

Plate

(SUB FOR TH106820)

1шт.

11

0295003

Guide

(SUB FOR TH106821)

2шт.

13

TH105805

Bushing

1шт.

14

0295006

O-Ring

(SUB FOR TH105862)

2шт.

15

0295005

O-Ring

(SUB FOR TH105861)

1шт.

16

0295004

Ring

(SUB FOR TH105860)

2шт.

18

19M8574

Screw

M10 X 85

4шт.

19

19M8533

Screw

M10 X 25

2шт.

20

0330401

Dowel Pin

(SUB FOR TH110281)

4шт.

Выбрано товаров: 0