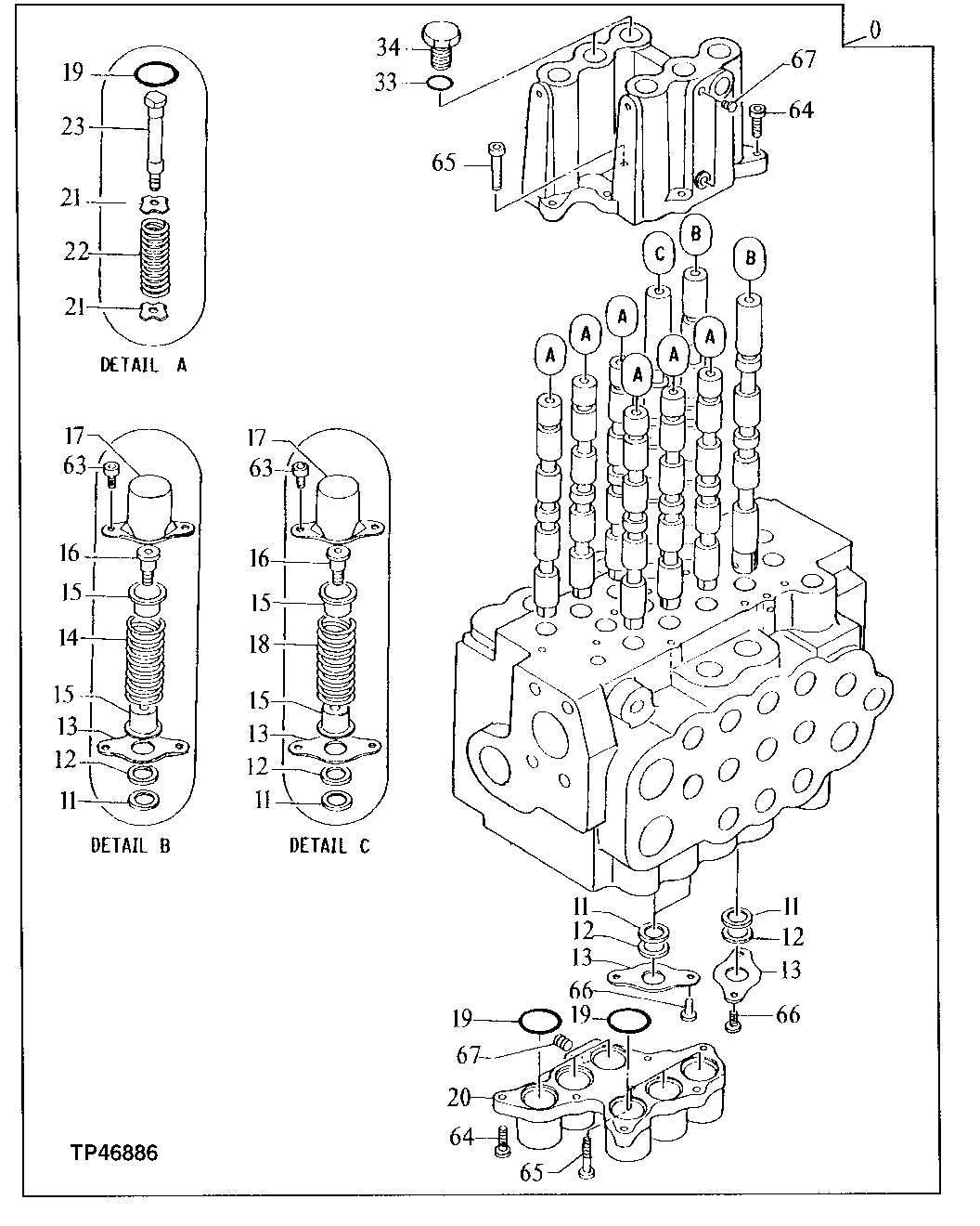
Запчасти John Deere 90E 149 - Control Valve (Offset Boom) 2160 HYDRAULIC SYSTEM

Схема запчастей John Deere 90E - 149 - Control Valve (Offset Boom) 2160 HYDRAULIC SYSTEM
FIT
1:1
100%

Артикул

Название

Примечание

Количество

0

4325343

Hyd Actuated Control Valve

(SUB FOR AT200544 ) (SUB FOR AT163680)(C ONTAINS ALL ITEMS ON THIS PAGE - ADDITION AL COMPONENTS LISTED ON FOLLOWING PAGES)

1шт.

11

0225202

Seal

(SUB FOR TH105747)

6шт.

12

0225203

Seal

(SUB FOR TH105748)

6шт.

13

0332901

Plate

(SUB FOR TH110302)

6шт.

14

0225208

Spring

(SUB FOR TH105753)

2шт.

15

0225205

Retainer

(SUB FOR TH105750)

6шт.

16

0225201

Cap Screw

(SUB FOR TH106840)

3шт.

17

0332902

Cap

(SUB FOR TH110303)

3шт.

18

0225101

Spring

(SUB FOR TH105744)

1шт.

19

CH17653

Packing

12шт.

20

0332903

Cover

(SUB FOR TH110304)

1шт.

21

0332904

Retainer

(SUB FOR TH110305)

12шт.

22

0332905

Spring

(SUB FOR TH110306)

6шт.

23

0332906

End

(SUB FOR TH110307)

6шт.

33

CH11570

O-Ring

2шт.

34

0332914

Drain Plug

(SUB FOR TH110315)

2шт.

63

0209423

Bolt

(SUB FOR AT200302 ) (SUB FOR TH100738)

6шт.

64

19M7603

Screw

M6 X 20 (SUB FOR AT200303, AL ONG WITH 12M7006 AND 24M7105)

14шт.

12M7006

Lock Washer

6 mm

14шт.

24M7105

Washer

6 X 12 X 1.600 mm

14шт.

65

T115409

Bolt

M6 X 32 (SUB FOR AT200304)

2шт.

66

21M7400

Screw

M6 X 10

6шт.

67

94-2010

Fitting Plug

(SUB FOR TH100689)

3шт.

Выбрано товаров: 23