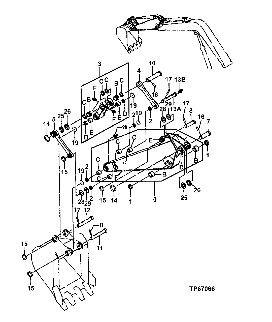
Запчасти John Deere 90E 174 - Long Arm (2.12 M - 6 Feet 11 Inches) 3340 Frames (1.62 M - 5 Feet 4 Inches)

Схема запчастей John Deere 90E - 174 - Long Arm (2.12 M - 6 Feet 11 Inches) 3340 Frames (1.62 M - 5 Feet 4 Inches)
FIT
1:1
100%

Артикул

Название

Примечание

Количество

0

Arm

( AT161670 NO LONGER AVAILABLE)

1шт.

0B

4197842

Bushing

60 X 75 X 51 mm (2.362" X 2-61/ 64" X 2.008") (SUB FOR TH110558)

2шт.

0C

4273542

Bushing

(SUB FOR AT200457)

4шт.

0D

4197031

Bushing

(SUB FOR TH110546)

1шт.

0E

4197029

Bushing

(SUB FOR TH110545)

1шт.

0F

7025377

Arm

(SUB FOR AT200633)

1шт.

1

TH105979

Seal

2шт.

2

AT318033

Seal

(SUB FOR 4117955, TH106007)

4шт.

3

8050336

Link

(SUB FOR AT200649)

1шт.

3B

4272706

Bushing

(SUB FOR AT200451)

2шт.

3C

AT318031

Seal

(SUB FOR 4094087, TH105980)

4шт.

3D

AT318033

Seal

(SUB FOR 4117955, TH106007)

2шт.

3E

4273542

Bushing

(SUB FOR AT200457)

2шт.

3F

TH100074

Lubrication Fitting

3шт.

4

3037342

Link

(SUB FOR TH110415)

1шт.

5

8037570

Link

(SUB FOR TH110924)

1шт.

7

3055535

Pin Fastener

(SUB FOR AT200378)

1шт.

8

3025520

Pin

45 X 176 mm (1.772" X 6. 929") (SUB FOR TH105908)

1шт.

10

3037350

Pin Fastener

55 X 262 mm (2.165" X 10 .315") (SUB FOR TH110419)

1шт.

11

3055538

Pin Fastener

(SUB FOR AT200381)

1шт.

12

3046682

Pin Fastener

(SUB FOR TH111893)

1шт.

13A

3037349

Pin Fastener

(SUB FOR TH110418)

1шт.

13B

TH100074

Lubrication Fitting

1шт.

14

4065688

Retainer

(SUB FOR TH100624)

2шт.

15

4141000

Ring

(SUB FOR TH106052)

4шт.

16

4065689

Pin Fastener

17.500 X 81 mm (0.689" X 3.189") (SUB FOR TH100625)

2шт.

17

4141001

Pin

16 X 62 mm (0.630" X 2. 441") (SUB FOR TH106053)

4шт.

19

4237801

O-Ring

75 X 8 mm (2-61/64" X 0. 315") (SUB FOR TH112227)

4шт.

20

TH100074

Lubrication Fitting

1шт.

25

4180196

Washer

56 X 100 X 1.200 mm (2.205" X 3-1 5/16" X 3/64") (SUB FOR TH108046)

2шт.

26

4042135

Washer

56 X 100 X 2.300 mm (2.205" X 3-1 5/16" X 0.091") (SUB FOR TH105940)

2шт.

28

4294885

Washer

(SUB FOR AT200515)

2шт.

29

4294886

Washer

(SUB FOR AT200516)

2шт.

Выбрано товаров: 0