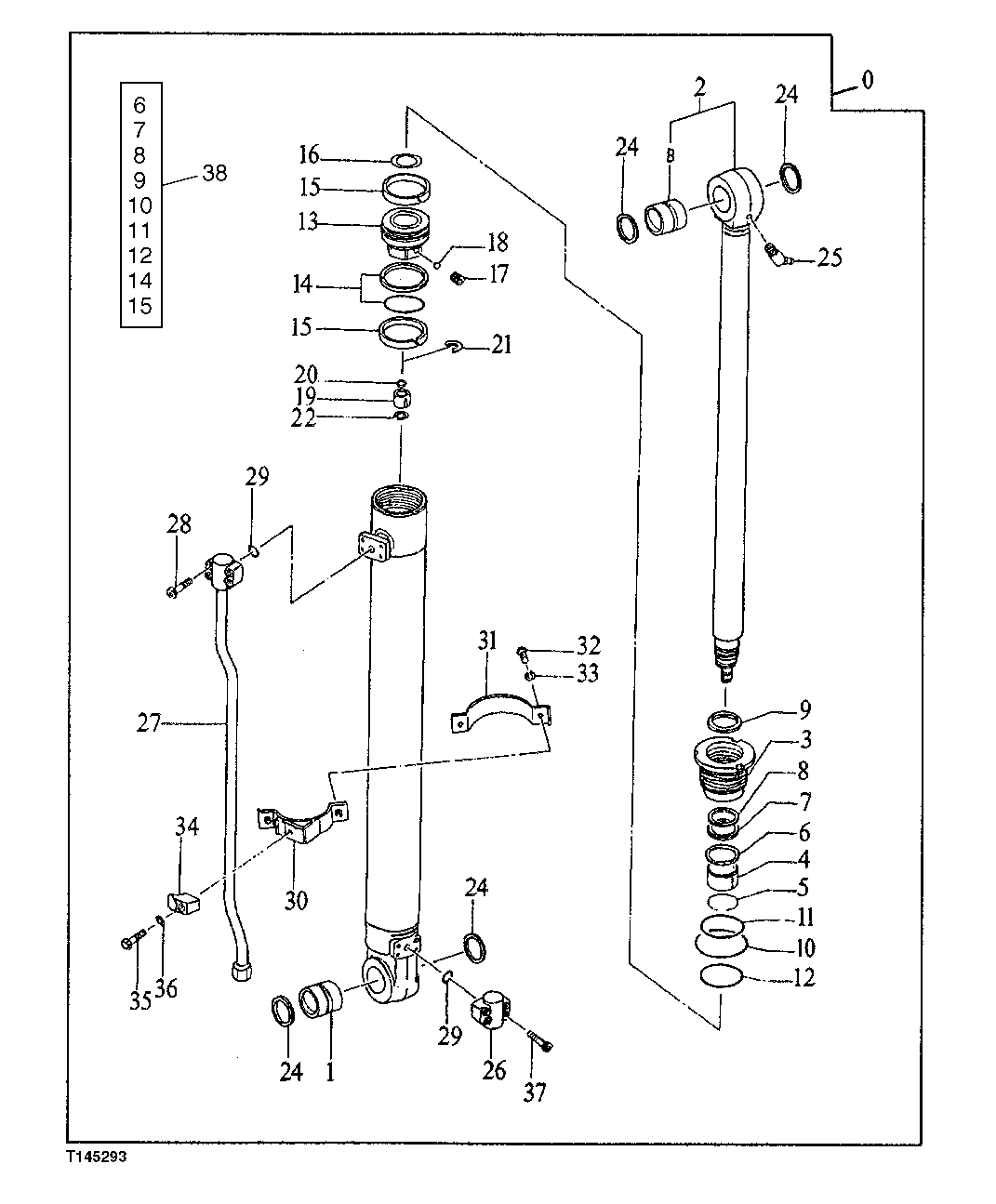
Запчасти John Deere 90E 209 - Arm Cylinder 3360 HYDRAULIC SYSTEM

Схема запчастей John Deere 90E - 209 - Arm Cylinder 3360 HYDRAULIC SYSTEM
FIT
1:1
100%

Артикул

Название

Примечание

Количество

0

4272844

Cylinder

SUB FOR AT200453 OR AT264182

1шт.

1

0396102

Bushing

SUB FOR AT200195

1шт.

2

0444703

Rod

SUB FOR AT200274

1шт.

2B

0396102

Bushing

SUB FOR AT200195

1шт.

3

0444705

Hydr. Cylinder Rod Guide

SUB FOR AT200276

1шт.

4

0444706

Bushing

60.060 X 65 X 35 mm (2.365" X 2 .559" X 1.378") SUB FOR AT200277

1шт.

5

0225704

Snap Ring

SUB FOR TH105772

1шт.

6

AT264380

Ring

(A) SUB FOR TH105780

1шт.

7

AT264378

Ring

(A) SUB FOR TH105778

1шт.

8

AT264379

Back-Up Ring

(A) SUB FOR TH105779

1шт.

9

AT264377

Ring

(A) SUB FOR TH105777

1шт.

10

CH18696

Packing

(A)

1шт.

11

AT264391

Back-Up Ring

(A) SUB FOR TH109374

1шт.

12

CH17447

Packing

(A)

1шт.

13

0444707

Piston

SUB FOR AT200278

1шт.

14

AT264392

Ring

(A) SUB FOR TH109376

1шт.

15

AT264229

Ring

SUB FOR 0333007, 0495713, AT130547

2шт.

16

0333008

Shim

SUB FOR AT130548

1шт.

17

22M7139

Set Screw

M10 X 10

1шт.

18

400R

Ball

6.350 mm (1/4")

1шт.

19

0444708

Bearing

SUB FOR AT200279

1шт.

20

0444709

Seal

SUB FOR AT200280

1шт.

21

0444710

Snap Ring

SUB FOR AT200281

1шт.

22

0396211

Snap Ring

SUB FOR AT200197

2шт.

24

4117954

Seal

SUB FOR AT200268 AND 0444609

4шт.

25

JD7781

Lubrication Fitting

SUB FOR TH105707

1шт.

26

0444711

Universal Joint

SUB FOR AT200282

1шт.

27

4S00344

Line

SUB FOR AT200283

1шт.

28

19M8213

Screw

M10 X 50

4шт.

29

0976602

O-Ring

SUB FOR TH103574 OR AT264354 OR 4S00734

2шт.

30

0444713

Band

SUB FOR AT200284

1шт.

31

0444714

Band

SUB FOR AT200285

1шт.

32

19M7550

Cap Screw

M10 X 35 SUB FOR AT153924

2шт.

33

12M7066

Lock Washer

10 mm

2шт.

34

0310616

Clamp

SUB FOR TH109386

1шт.

35

19M7496

Cap Screw

M12 X 45

1шт.

36

12M7058

Lock Washer

12 mm SUB FOR 12M7067

1шт.

37

M341032

Screw

M10 X 32 SUB FOR TH101301

4шт.

38

AT194439

Seal Kit

INCLUDES PARTS MARKED (A), SUB FOR AT200549

1шт.

Выбрано товаров: 39