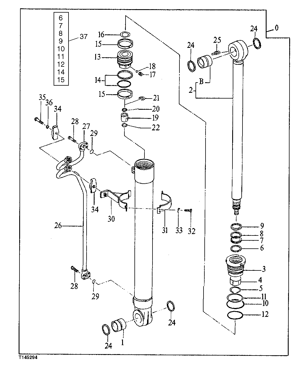
Запчасти John Deere 90E 210 - OFFSET BOOM ARM CYLINDER 3360 HYDRAULIC SYSTEM

Схема запчастей John Deere 90E - 210 - OFFSET BOOM ARM CYLINDER 3360 HYDRAULIC SYSTEM
FIT
1:1
100%

Артикул

Название

Примечание

Количество

0

4295802

Cylinder

SUB FOR AT200518

1шт.

1

0396102

Bushing

SUB FOR AT200195, SUB FOR AT200195

1шт.

2

0486902

Rod

SUB FOR AT200337

1шт.

2B

0396102

Bushing

SUB FOR AT200195, SUB FOR AT200195

1шт.

3

0444705

Hydr. Cylinder Rod Guide

SUB FOR AT200276

1шт.

4

0444706

Bushing

60.060 X 65 X 35 mm (2.365" X 2 .559" X 1.378") SUB FOR AT200277

1шт.

5

0225704

Snap Ring

SUB FOR TH105772

1шт.

6

AT264380

Ring

(A) SUB FOR TH105780

1шт.

7

AT264378

Ring

(A) SUB FOR TH105778

1шт.

8

AT264379

Back-Up Ring

(A) SUB FOR TH105779

1шт.

9

AT264377

Ring

(A) SUB FOR TH105777

1шт.

10

CH18696

Packing

(A)

1шт.

11

AT264391

Back-Up Ring

(A) SUB FOR TH109374

1шт.

12

CH17447

Packing

(A)

1шт.

13

0444707

Piston

SUB FOR AT200278

1шт.

14

AT264392

Ring

(A) SUB FOR TH109376

1шт.

15

AT264229

Ring

SUB FOR 0333007, 0495713, AT130547

2шт.

16

0333008

Shim

SUB FOR AT130548

1шт.

17

22M7139

Set Screw

M10 X 10

1шт.

18

400R

Ball

6.350 mm (1/4")

1шт.

19

0444708

Bearing

SUB FOR AT200279

1шт.

20

0444709

Seal

SUB FOR AT200280

1шт.

21

0444710

Snap Ring

SUB FOR AT200281

1шт.

22

0396211

Snap Ring

SUB FOR AT200197

2шт.

24

4117954

Seal

SUB FOR AT200268 AND 0444609

4шт.

25

JD7781

Lubrication Fitting

SUB FOR TH105707

1шт.

26

0486903

Line

SUB FOR AT200338

1шт.

27

0486904

Line

SUB FOR AT200339

1шт.

28

19M8439

Screw

M8 X 25

8шт.

29

0976602

O-Ring

SUB FOR TH103574 OR AT264354 OR 4S00734

2шт.

30

0486905

Band

SUB FOR AT200340

1шт.

31

0444714

Band

SUB FOR AT200285

1шт.

32

19M7550

Cap Screw

M10 X 35 SUB FOR AT153924

2шт.

33

12M7066

Lock Washer

10 mm

2шт.

34

TH109337

Clamp

2шт.

35

19M8348

Cap Screw

M12 X 65

1шт.

36

12M7058

Lock Washer

12 mm SUB FOR 12M7067

1шт.

37

AT194439

Seal Kit

INCLUDES PARTS MARKED (A) SUB FOR AT200549

1шт.

Выбрано товаров: 38