Запчасти John Deere 90E 40 - Engine Oil Cooler 0419 Engine Oil Cooler 4039DT009 4039DT009

Схема запчастей John Deere 90E - 40 - Engine Oil Cooler 0419 Engine Oil Cooler 4039DT009 4039DT009
FIT
1:1
100%

Артикул

Название

Примечание

Количество

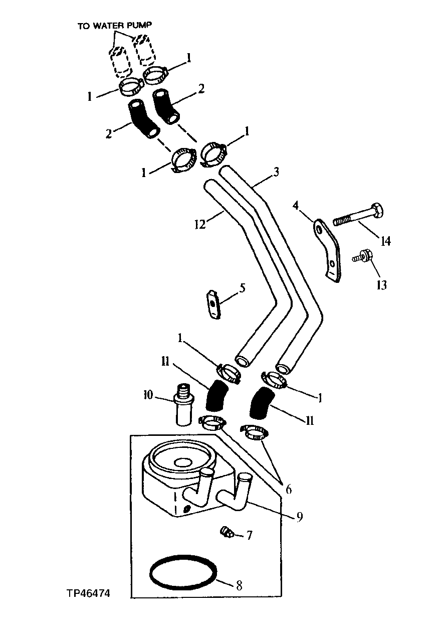
1

RE32361

Hose Clamp

6шт.

2

R48989

Hose

2шт.

3

R55125

Line

1шт.

4

R55128

Flange

1шт.

5

R55129

Half Clamp

1шт.

6

RE65978

Clamp

(SUB FOR AT18904 OR RE62322)

2шт.

7

R56947

Drain Plug

1шт.

8

R105714

Washer

1шт.

9

RE31929

Oil Cooler

1шт.

10

T31306

Threaded Nipple

1шт.

11

R99802

Hose

2шт.

12

R55126

Line

1шт.

13

AR76704

Screw

1шт.

14

19H3744

Screw

3/8" X 3-1/8"

1шт.

Выбрано товаров: 14