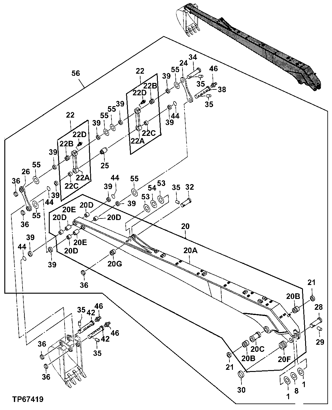
Запчасти John Deere 00CLC 277 - SUPER LONG FRONT ARM AND BUCKET LINKAGE ( -31OCT04) 3340 BACKHOE AND EXCAVATOR FRAMES

Схема запчастей John Deere 00CLC - 277 - SUPER LONG FRONT ARM AND BUCKET LINKAGE ( -31OCT04) 3340 BACKHOE AND EXCAVATOR FRAMES
FIT
1:1
100%

Артикул

Название

Примечание

Количество

1

4366691

Thrust Washer

(SUB FOR AT214029)

2шт.

8

4367409

Thrust Washer

(SUB FOR AT214039)

1шт.

20

7031847

Arm

(SUB FOR AT186460)(CA)

1шт.

20A

Arm

(CA)

1шт.

20B

3072697

Bushing

(SUB FOR AT213781)

2шт.

20C

4370876

Spacer

(SUB FOR AT186464)

1шт.

20D

AT122209

Bushing

4шт.

20E

4287248

Bushing

(SUB FOR AT186465 ) (SUB FOR AT159595)

2шт.

20F

AT104509

Bushing

1шт.

20G

TH108649

Bushing

1шт.

21

TH102446

Seal

2шт.

22

8072993

Link

(SUB FOR AT186461)

2шт.

22A

Link

1шт.

22B

4371132

Bushing

(SUB FOR AT186466)

1шт.

22C

AT122209

Bushing

(SUB FOR P61799)

1шт.

22D

TH100074

Lubrication Fitting

1шт.

24

4287250

Link

(SUB FOR AT159599)

1шт.

25

4287249

Spacer

(SUB FOR AT159600)

1шт.

26

9738223

Link

(SUB FOR AT159598)

1шт.

28

3071063

Pin Fastener

(SUB FOR AT186462)

1шт.

29

4098713

Pin

(SUB FOR TH103627)

1шт.

30

4098712

Ring

(SUB FOR TH103629)

1шт.

32

P60925

Pin Fastener

1шт.

34

AT159601

Pin

1шт.

35

4065689

Pin Fastener

(SUB FOR TH100625)

5шт.

36

4065688

Retainer

(SUB FOR TH100624)

5шт.

38

AT318041

Pin Fastener

(SUB FOR 3058763, AT159602)

1шт.

39

TH100374

Seal

10шт.

42

AT159603

Pin

2шт.

44

4066923

O-Ring

(SUB FOR AT121233)

4шт.

46

TH100074

Lubrication Fitting

3шт.

53

P60447

Plate

2шт.

54

4367411

Plate

(SUB FOR P60449)

1шт.

55

4366693

Plate

(SUB FOR AT186463)

6шт.

56

Kit

Installed On Units Prior To November 2004 (WHOLE GOODS) ( AT186457 NLA)(ALSO ORDER ( 1) T190565, (1) T153672, (1) T153673, (1) A H165671 AND (1) AH165673 ) Long Front Assem bly Kit Contains All Items On This Page - A dditional Components Listed On Separate

1шт.

Выбрано товаров: 35