Качественные детали и логистика
Оригинальные и аналоговые запчасти с доставкой по России, Казахстану и Беларуси
©2022 PartSell ООО "Система" ИНН 2463123282 ОГРН 1212400004838
Центральный офис: г. Красноярск, Академика Киренского, д.87, пом.4
Телефон: 8 (800) 777-65-74 Email: zakaz@partsell.ru
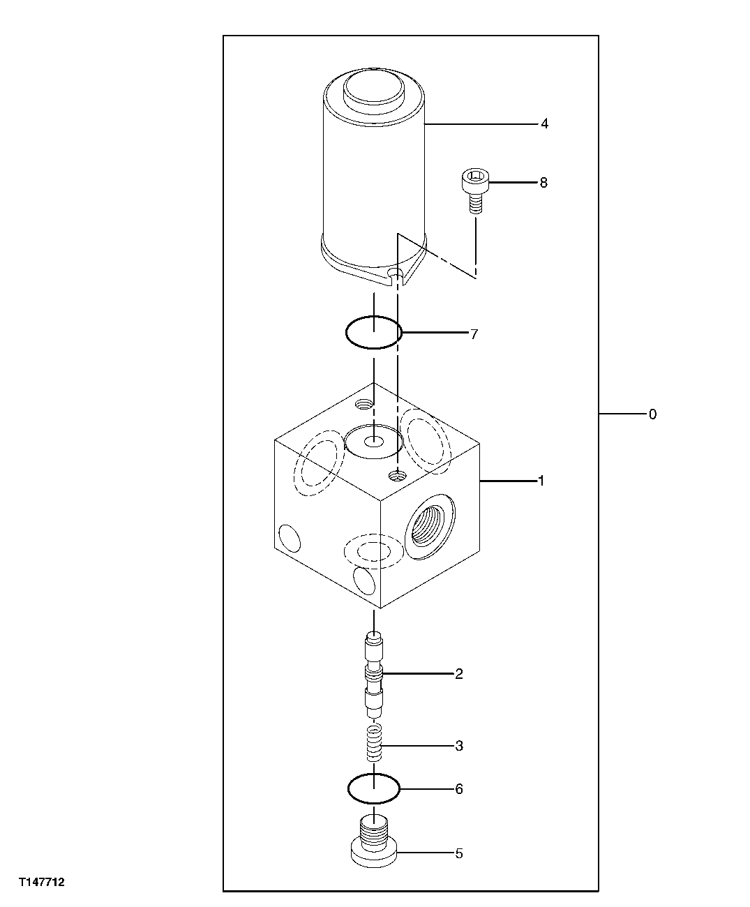
319 - SOLENOID VALVE
№
Артикул
Название
Примечание
Количество
0
Solenoid Valve
( 4261289 NLA) (ORDER 47 29022) (SUB FOR AT202111)
1шт.
1
Housing
2
Spool Valve
3
0444301
Spring
(SUB FOR AT200231)
4
0444302
Solenoid
(SUB FOR AT200232)
5
0215220
Fitting Plug
(SUB FOR TH101485)
6
4506408
O-Ring
(SUB FOR TH101490)
7
P50883
Ring
8
19M7887
Screw
M5 X 10
2шт.
Выбрано товаров: 0