Запчасти John Deere 00CLC 34 - 2001 WATER PUMP WITH REPAIR KIT 0400A Engine 6068HT053 6068HT053

Схема запчастей John Deere 00CLC - 34 - 2001 WATER PUMP WITH REPAIR KIT 0400A Engine 6068HT053 6068HT053
FIT
1:1
100%

Артикул

Название

Примечание

Количество

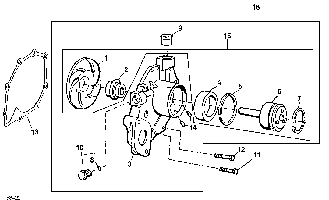
1

Impeller

(MARKED R503509)

1шт.

2

Seal

1шт.

3

Housing

1шт.

4

Ball Bearing

1шт.

5

Ring

1шт.

6

Shaft

1шт.

7

A364R

Snap Ring

1шт.

8

51M7043

O-Ring

15.300 X 2.200 mm

1шт.

9

R123226

Seal

1шт.

10

RE46685

Fitting Plug

1шт.

11

19M7863

Screw

M6 X 25

5шт.

12

19M7796

Screw

M6 X 30

3шт.

13

R123417

Gasket

1шт.

14

R100369

Filter

2шт.

15

RE509813

Engine Kit

WATER PUMP (HIGH FLOW)

1шт.

16

RE505980

Water Pump

1шт.

SE501609

Water Pump Reman

(REMAN FOR RE505980)

1шт.

Выбрано товаров: 17