Запчасти John Deere 200LC, 330LC, 370 63 - Rear Entry Cab Windshield Wiper 1810 Operator Enclosure

Схема запчастей John Deere 200LC, 330LC, 370 - 63 - Rear Entry Cab Windshield Wiper 1810 Operator Enclosure
FIT
1:1
100%

Артикул

Название

Примечание

Количество

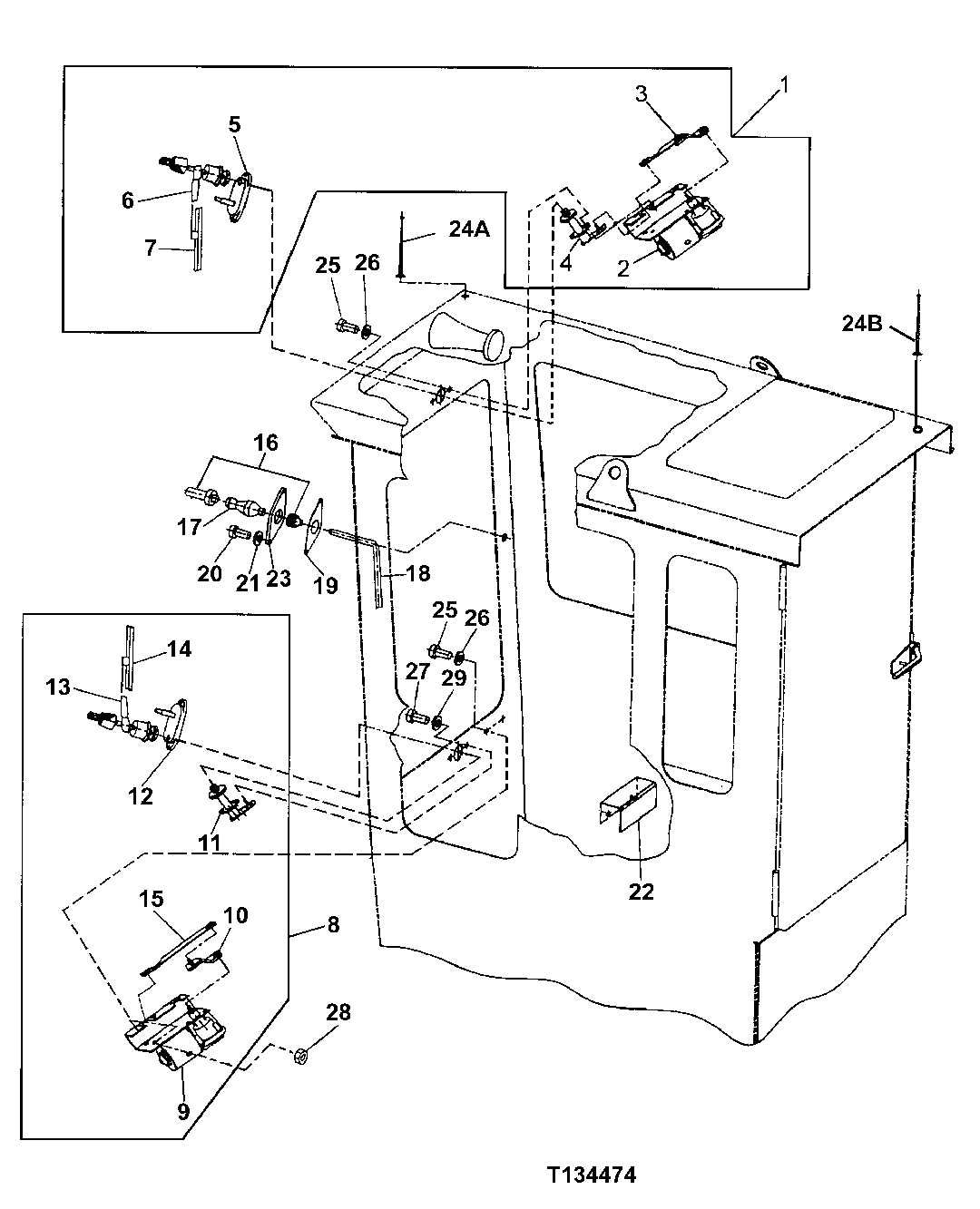
1

Windshield Wiper

(UPPER) ( FFSB102151 NO T AVAILABLE FOR SERVICE)

1шт.

2

FFSB102152

Wiper Motor

1шт.

3

FFSB102153

Wiper Arm

1шт.

4

FFSB102154

Shaft

1шт.

5

FFSB102155

Arm

1шт.

6

FFSB102156

Arm

1шт.

7

FFSB102157

Wiper Blade

1шт.

8

Windshield Wiper

(LOWER) ( FFSB102158 NO T AVAILABLE FOR SERVICE)

1шт.

9

FFSB102152

Wiper Motor

1шт.

10

FFSB102153

Wiper Arm

1шт.

11

FFSB102154

Shaft

1шт.

12

FFSB102155

Arm

1шт.

13

FFSB102156

Arm

1шт.

14

FFSB102157

Wiper Blade

1шт.

15

FFSB102159

Link

1шт.

16

4367485

Nozzle

(SUB FOR AT214042)

1шт.

17

4367481

Flow Control Hyd. Valve

(SUB FOR AT214041)

1шт.

18

FFSB102160

Link

1шт.

19

4369544

Gasket

(SUB FOR AT214058)

1шт.

20

21H1158

Screw

0.164" X 1/2"

2шт.

21

12H315

Lock Washer

0.164"

2шт.

22

FFSB102161

Cover

1шт.

23

4367486

Adapter Fitting

(SUB FOR AT214043)

1шт.

24A

FFSB102184

Antenna

1шт.

FFSB102184

Antenna

1шт.

24B

FFSB102184

Antenna

1шт.

FFSB102184

Antenna

1шт.

25

19H3005

Cap Screw

1/4" X 1"

4шт.

26

12H302

Lock Washer

1/4"

4шт.

27

19H1914

Cap Screw

1/4" X 1"

2шт.

28

14H786

Nut

1/4"

2шт.

29

24H1287

Washer

9/32" X 5/8" X 0.065"

2шт.

50

Cab

( FFSB103419 NO LONGER AVAILABLE) ( NOT ILLUSTRATED) (CONVENIENCE ASSEMBL Y) (72 INCH REAR ENTRY CAB) (CONTAINS ALL ITEMS ON THIS PAGE - ADDITIONAL COMPONENTS LISTED ON SEPARATE PAGES)

1шт.

Cab

( FFSB103420 NO LONGER AVAILABLE) ( NOT ILLUSTRATED) (CONVENIENCE ASSEMBL Y) (48 INCH REAR ENTRY CAB) (CONTAINS ALL ITEMS ON THIS PAGE - ADDITIONAL COMPONENTS LISTED ON SEPARATE PAGES)

1шт.

Выбрано товаров: 34