Запчасти John Deere 200LC, 330LC, 370 79 - FORESTRY CAB HYDRAULIC TILT 1810 Operator Enclosure

Схема запчастей John Deere 200LC, 330LC, 370 - 79 - FORESTRY CAB HYDRAULIC TILT 1810 Operator Enclosure
FIT
1:1
100%

Артикул

Название

Примечание

Количество

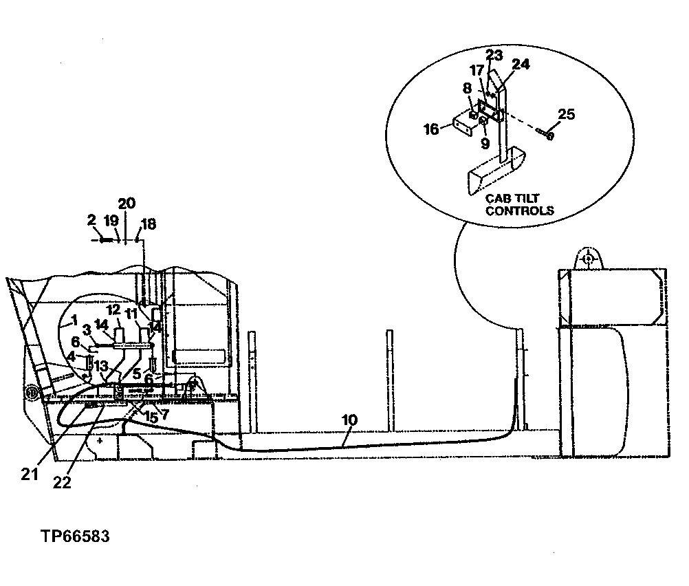
1

FFSB103194

Cable

1шт.

2

19H3069

Cap Screw

7/8" X 4-1/2"

1шт.

3

FFSB102281

Cylinder

1шт.

FF200027

Seal Kit

1шт.

4

FFSB102282

Pin

1шт.

5

FFSB102283

Pin

1шт.

6

11H244

Cotter Pin

3/16" X 2-1/2"

4шт.

7

Power Supply

( FFSB102284 NO LONGER AVAI LABLE) (FURNISH FFSB104999)

1шт.

8

FFSB102285

Toggle/Rocker Switch

1шт.

9

FFSB102286

Toggle/Rocker Switch

1шт.

10

FFSB103037

Wiring Harness

1шт.

11

FFSB103195

Hydraulic Hose

1шт.

12

FFSB103196

Hydraulic Hose

1шт.

13

X6-6CLO-S

Elbow Fitting

(SUB FOR FFSB103261)

2шт.

14

FFSB103262

Adapter Fitting

2шт.

15

Pad

( FFSB102290 NOT AVAILABLE FOR SERVICE)

2шт.

16

FFSB102291

Label

1шт.

17

FFSB102292

Bracket

1шт.

18

14H406

Nut

7/8"

1шт.

19

12H19

Lock Washer

7/8"

1шт.

20

24H1682

Washer

13/32" X 7/8" X 0.120"

1шт.

21

19H1905

Cap Screw

5/16" X 1"

4шт.

22

12H303

Lock Washer

5/16"

4шт.

23

14H785

Nut

5/16"

2шт.

24

12H303

Lock Washer

5/16"

2шт.

25

19H1900

Cap Screw

5/16" X 3/4"

2шт.

26

FFSB108623

Toggle/Rocker Switch

(SINGLE SWITCH, EIGHT L EADS) (NOT ILLUSTRATED)

1шт.

30

Cab

( FFSB103421 NO LONGER AVAILABLE) (NOT IL LUSTRATED) (CONVENIENCE ASSEMBLY) (FORESTRY CAB) (CONTAINS ALL ITEMS ON THIS PAGE - AD DITIONAL COMPONENTS LISTED ON SEPARATE PAGE S)

1шт.

Выбрано товаров: 28