Качественные детали и логистика
Оригинальные и аналоговые запчасти с доставкой по России, Казахстану и Беларуси
©2022 PartSell ООО "Система" ИНН 2463123282 ОГРН 1212400004838
Центральный офис: г. Красноярск, Академика Киренского, д.87, пом.4
Телефон: 8 (800) 777-65-74 Email: zakaz@partsell.ru
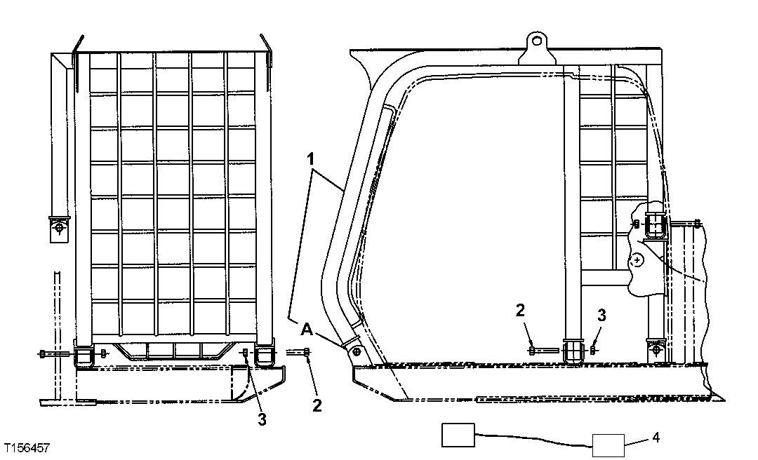
81 - BC ROADBUILDER EXCAVATOR CAB GUARD AND HARNESS EXTENSION
№
Артикул
Название
Примечание
Количество
1
FFSB102809
Guard
(CONVENIENCE ASSEMBLY)
1шт.
1A
Mounting Parts
( FFSB102810 NOT AVAILABLE FOR SERVICE)
5шт.
2
19H2101
Cap Screw
1" X 6"
3
K40018
Lock Nut
25.400 mm
4
FFSB108556
Wiring Harness
(FOR USE WITH CAB RISER)
Выбрано товаров: 0