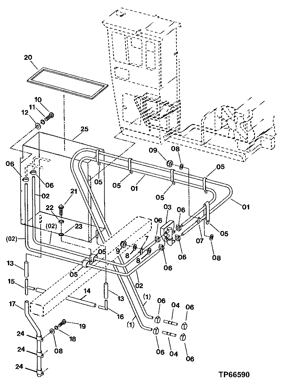
Запчасти John Deere 200LC, 330LC, 370 89 - REAR ENTRY CAB HEATER PIPING 1830 HEATING AND AIR CONDITIONING

Схема запчастей John Deere 200LC, 330LC, 370 - 89 - REAR ENTRY CAB HEATER PIPING 1830 HEATING AND AIR CONDITIONING
FIT
1:1
100%

Артикул

Название

Примечание

Количество

1

Hose

(48 INCH REAR ENTRY CAB) ( FFSB10293 3 NOT AVAILABLE FOR SERVICE) (FURNISH TY22328 BULK MATERIAL CUT TO LENGTH)

2шт.

Hose

(72 INCH REAR ENTRY CAB) ( FFSB10282 4 NOT AVAILABLE FOR SERVICE) (FURNISH TY22328 BULK MATERIAL CUT TO LENGTH)

2шт.

2

Hose

(48 INCH REAR ENTRY CAB) ( FFSB10293 4 NOT AVAILABLE FOR SERVICE) (FURNISH TY22328 BULK MATERIAL CUT TO LENGTH)

2шт.

Hose

(72 INCH REAR ENTRY CAB) ( FFSB10282 5 NOT AVAILABLE FOR SERVICE) (FURNISH TY22328 BULK MATERIAL CUT TO LENGTH)

2шт.

3

AT192174

Valve

(SUB FOR FFSB102852 AND FFSB105429)(MOTORIZED)

1шт.

4

4341800

Tube

(SUB FOR AT213885)

2шт.

5

FFSB102828

Clip

7шт.

6

FFSB102829

Clamp

10шт.

7

FFSB104506

Clamp

(SUB FOR FFSB102830)

2шт.

8

24H1287

Washer

9/32" X 5/8" X 0.065"

7шт.

9

K40001

Lock Nut

( FFSB102853 NO LONGER AVAILABLE)

2шт.

10

19H1900

Cap Screw

5/16" X 3/4"

6шт.

11

12H303

Lock Washer

5/16"

6шт.

12

24H1136

Washer

11/32" X 11/16" X 0.065"

6шт.

13

FFSB102831

Tube

2шт.

14

FFSB102832

Tube

1шт.

15

FFSB102836

Tee Fitting

1шт.

16

F434243

Elbow Fitting

(SUB FOR FFSB102837)

1шт.

17

FFSB102833

Tube

1шт.

18

19H1948

Cap Screw

1/4" X 3/4"

3шт.

19

12H302

Lock Washer

1/4"

3шт.

20

FFSB102834

Weatherstrip

1шт.

21

19H1731

Cap Screw

3/8" X 1"

1шт.

22

12H304

Lock Washer

3/8"

1шт.

23

24H1305

Washer

13/32" X 13/16" X 0.065"

1шт.

24

F053301

Holder

( FFSB102835 NO LONGER AVAILABLE)

3шт.

25

FFSB102748

Evaporator

1шт.

Выбрано товаров: 27