Запчасти John Deere 200LC, 330LC, 370 98 - Log Deflector 1910 Hood Or Engine Enclosure

Схема запчастей John Deere 200LC, 330LC, 370 - 98 - Log Deflector 1910 Hood Or Engine Enclosure
FIT
1:1
100%

Артикул

Название

Примечание

Количество

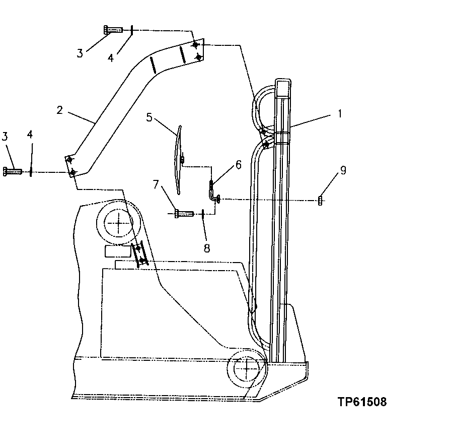
1

FFSB102035

Limb Riser

(LOG) (RIGHT FRONT CORNER OF UNIT)

1шт.

FFSB102794

Deflector

(LOG) (RIGHT FRONT CORNER OF UNIT)

1шт.

2

FFSB102036

Support

(LOG DEFLECTOR)

1шт.

FFSB103033

Brace

(LOG DEFLECTOR)

1шт.

3

19H2369

Cap Screw

3/4" X 1"

4шт.

J931845

Bolt

(SUB FOR AT201959)

4шт.

4

12H236

Lock Washer

3/4"

4шт.

J257218

Lock Washer

(SUB FOR AT250277)

4шт.

5

4420724

Rear View Mirror

(SUB FOR AT185207)

1шт.

6

FFSB108050

Support

(SUB FOR FFSB102039)(MIRROR MOUNT)

1шт.

7

19H1849

Cap Screw

5/16" X 1-1/4"

2шт.

8

12H303

Lock Washer

5/16"

2шт.

9

14H785

Nut

5/16"

2шт.

Выбрано товаров: 0