Запчасти John Deere 200LC, 330LC, 370 129 - Pilot Pipings (Rear Entry Cab With Heeler) 3360 HYDRAULIC SYSTEM

Схема запчастей John Deere 200LC, 330LC, 370 - 129 - Pilot Pipings (Rear Entry Cab With Heeler) 3360 HYDRAULIC SYSTEM
FIT
1:1
100%

Артикул

Название

Примечание

Количество

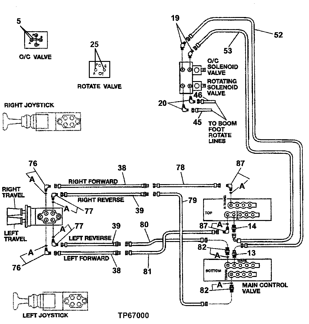
5

FFSB102387

Orifice

2шт.

13

4200466

Adapter Fitting

(SUB FOR TH108320)

1шт.

13A

CH11570

O-Ring

13.800 X 2.400 mm (NOT ILLUSTRATED)

1шт.

14

4202422

Adapter Fitting

(SUB FOR TH108440)

1шт.

19

AN113929

Elbow Fitting

2шт.

20

38H1241

Elbow Fitting

2шт.

25

FFSB104023

Orifice

2шт.

38

FFSB102249

Hydraulic Hose

(48 INCH REAR ENTRY CAB)

2шт.

FFSB102551

Hydraulic Hose

(72 INCH REAR ENTRY CAB)

2шт.

39

FFSB102250

Hydraulic Hose

(48 INCH REAR ENTRY CAB)

2шт.

FFSB102552

Hydraulic Hose

(72 INCH REAR ENTRY CAB)

2шт.

45

FFSB102240

Hydraulic Hose

1шт.

46

FFSB102241

Hydraulic Hose

1шт.

52

FFSB102241

Hydraulic Hose

1шт.

53

FFSB102244

Hydraulic Hose

1шт.

76

AT318014

Elbow Fitting

(SUB FOR 4156434 ) (SUB FOR AT204940)

2шт.

76A

M800650

Packing

1шт.

77

AT318014

Elbow Fitting

(SUB FOR 4156434 ) (SUB FOR TH101930)

2шт.

77A

M800650

Packing

1шт.

78

AT250094

Hydraulic Hose

1шт.

79

AT219679

Hydraulic Hose

1шт.

80

AT250064

Hydraulic Hose

1шт.

81

AT250093

Hydraulic Hose

1шт.

82

4200466

Adapter Fitting

(SUB FOR TH108320)

2шт.

82A

CH11570

O-Ring

13.800 X 2.400 mm

1шт.

87

4208913

Adapter Fitting

(SUB FOR AT126458)

2шт.

87A

CH11570

O-Ring

13.800 X 2.400 mm

1шт.

Выбрано товаров: 27