Запчасти John Deere 200LC, 330LC, 370 94 - SIDE GUARDING WITH HIGH CAPACITY FUEL TANK 1910 Hood Or Engine Enclosure

Схема запчастей John Deere 200LC, 330LC, 370 - 94 - SIDE GUARDING WITH HIGH CAPACITY FUEL TANK 1910 Hood Or Engine Enclosure
FIT
1:1
100%

Артикул

Название

Примечание

Количество

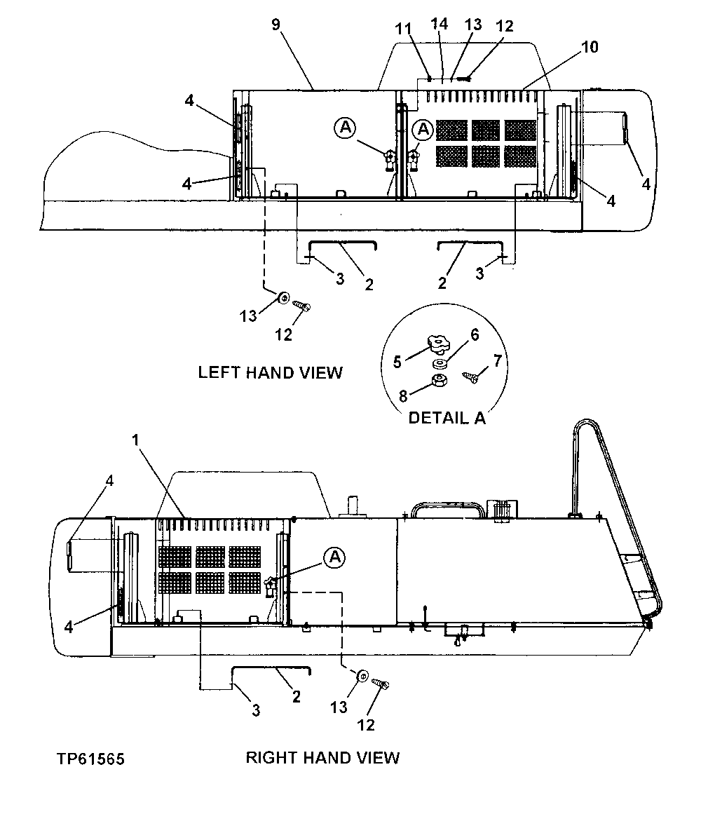
1

FFSB102028

Door

(FOR USE WITH EXPANDED FUEL TANK)

1шт.

2

FFSB102027

Pin Fastener

3шт.

3

24H1111

Washer

17/32" X 1-1/16" X 0.090"

3шт.

4

FFSB102020

Hinge

6шт.

5

FFSB102021

Handle

3шт.

6

24H1236

Washer

13/16" X 2" X 0.149"

3шт.

7

22H896

Set Screw

0.190" X 3/16" ( FFSB102 541 NO LONGER AVAILABLE)

3шт.

8

FFSB102024

Retainer

3шт.

9

FFSB102025

Door

1шт.

10

FFSB102026

Door

1шт.

11

14H812

Nut

3/8"

2шт.

12

19H1800

Cap Screw

3/8" X 1-1/2"

6шт.

13

12H304

Lock Washer

3/8"

6шт.

14

24H1305

Washer

13/32" X 13/16" X 0.065"

2шт.

Выбрано товаров: 14