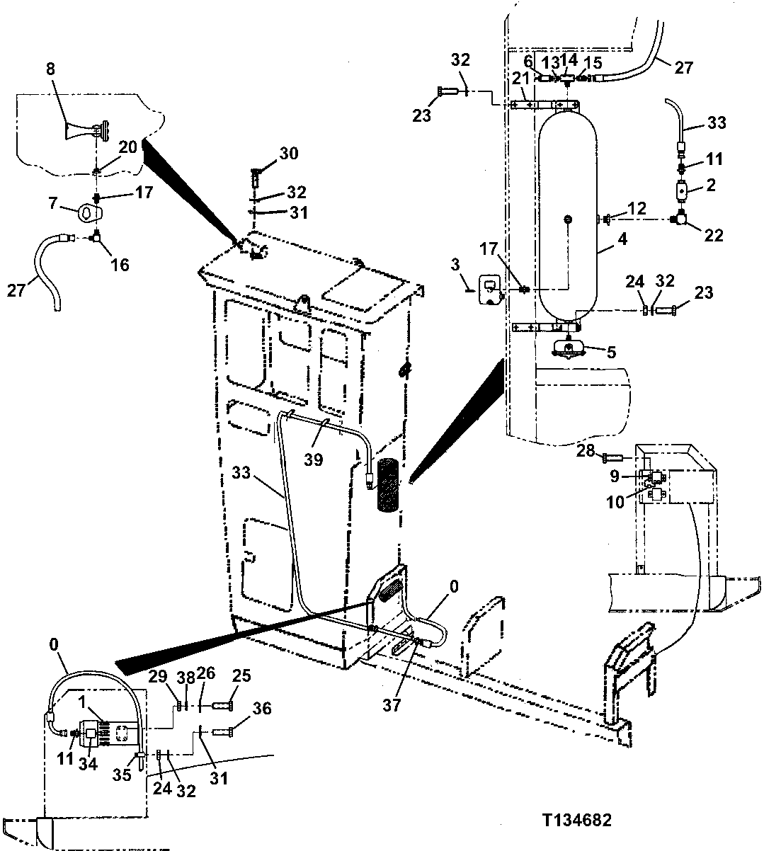
Запчасти John Deere 200LC, 330LC, 370 106 - Air Horn (For Units With 72 Inch Riser) (330LC 051014-) (370 051005-) 2200 REMOVAL AND INSTALLATION

Схема запчастей John Deere 200LC, 330LC, 370 - 106 - Air Horn (For Units With 72 Inch Riser) (330LC 051014-) (370 051005-) 2200 REMOVAL AND INSTALLATION
FIT
1:1
100%

Артикул

Название

Примечание

Количество

0

FFSB106289

Hydraulic Hose

(AIR)

1шт.

1

FFSB103451

Compressor

(SUB FOR FFSB104451)

1шт.

2

FFSB102130

Check Valve

1шт.

3

FFSB102131

Pressure Switch

1шт.

4

FFSB102132

Tank

(AIR)

1шт.

5

FFSB102133

Drain Valve

(ALSO ORDER 15H597 ) (SUB FOR FFSB107556)(AUTO-DRAIN)

1шт.

6

FFSB102134

Pressure Relief Valve

(SAFETY)

1шт.

7

FFSB102135

Solenoid Valve

(AIR SOLENOID)

1шт.

8

FFSB102136

Horn

(AIR)

1шт.

9

FFSB102137

Relay

1шт.

10

FFSB102138

Diode

1шт.

11

X6FTX-S

Adapter Fitting

(SUB FOR FFSB102172)

2шт.

12

15H607

Pipe Bushing

1/4" (SUB FOR FFSB104365)

1шт.

13

PMH1309

Reducer

(SUB FOR FFSB106391)

1шт.

14

X3/8MMS-S

Tee Fitting

(SUB FOR FFSB102170)

1шт.

15

X6-6FTX-S

Adapter Fitting

(SUB FOR FFSB102171)

1шт.

16

X6CTX-S

Elbow Fitting

(SUB FOR X2103-4-6 ) (SUB FOR FFSB104366)

1шт.

17

T79627

Threaded Nipple

9.525 mm

2шт.

20

N10524

Adapter Fitting

9.525 mm

1шт.

21

FFSB102139

Bracket

2шт.

22

X1/4CR-S

Elbow Fitting

6.350 mm (SUB FOR FFSB104363)

1шт.

23

19M7167

Cap Screw

M10 X 25

8шт.

24

14M7274

Nut

M10

5шт.

25

19M7163

Cap Screw

M8 X 25

4шт.

26

24M7036

Washer

9 X 16 X 1.600 mm

4шт.

27

FFSB102141

Hydraulic Hose

1шт.

28

19M7640

Cap Screw

M5 X 12

2шт.

29

14M7273

Nut

M8

4шт.

30

19M7168

Cap Screw

M10 X 30

4шт.

31

24M7096

Washer

10.500 X 18 X 1.600 mm

5шт.

32

12M7058

Lock Washer

12 mm (SUB FOR 12M7067)

12шт.

33

FFSB105517

Hydraulic Hose

1шт.

34

X1/4HP-S

Fitting Plug

(SUB FOR X01CP-4 ) (SUB FOR FFSB106291)

1шт.

35

F053301

Holder

( FFSB102835 NO LONGER AVAILABLE)

1шт.

36

19M7938

Cap Screw

M10 X 20 (SUB FOR FFSB105283)

1шт.

37

R27238

Fitting

(SUB FOR FFSB104364)

1шт.

38

12M7056

Lock Washer

8 mm (SUB FOR 12M7065)

4шт.

39

F010967

Hose Support

(SUB FOR FFSB104269)

3шт.

Выбрано товаров: 0